Phanteks D120/D140 Distroplate

Midnight Sun

Captain Pro
Registriert
Feb. 2014
Beiträge
3.213
Hallo,

ihr habt die D120 als auch die D140 im Programm. Die D120 habe ich vor kurzem erst bestellt, da sie bald wieder lieferbar ist.
Zur D140 hätte ich eine Frage und hoffe ihr habt die Infos dazu irgendwo, da ich dazu bislang nichts weiter gefunden habe.

Um zu schauen welches Gehäuse kompatibel ist, benötige ich die genauen Abmessungen.
Bei YT>LiquidHaus habe ich in einem Video gesehen, wie die D140 in einem LianLi Lancool II Mesh verbaut wird, welches hinten allerdings nur eine Montagemöglichkeit für einen 120er Lüfter hat.
Die Breite oben spielt also eine wichtige Rolle, als auch der untere Teil, welcher links neben die PCI-Slots passen muss.

Ich hoffe ihr könnt mir dabei behilflich sein?
 
Hallo Midnight Sun,

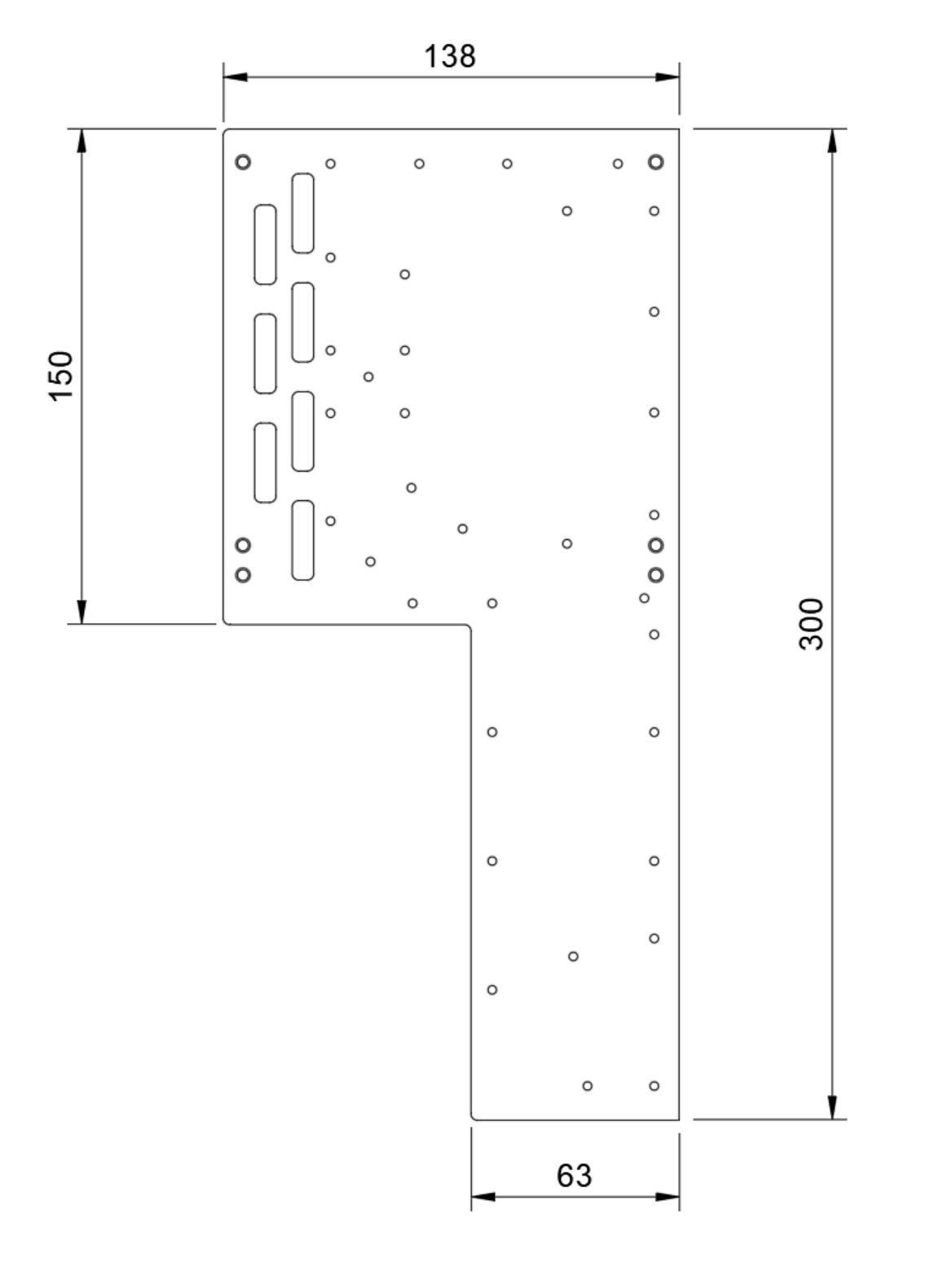
die Maße sind 138 x 300 x 13 mm (B x H x T), wobei der Teil mit dem Lüfter mit hoher Wahrscheinlichkeit eben in beiden Dimensionen 138 mm betragen wird.

Der YouTuber schreibt in den Kommentaren auch folgendes: "Yes, I had to sand down the side of the D140 on the IO side by a few mm. Also, I had to shave down the screw lengths of the door hinges as well."

Offiziell passt das also nicht und man sollte das nicht unbedingt nachmachen, wenn man die Garantie/Gewährleistung behalten möchte.

Liebe Grüße
Mike
 
  • Gefällt mir
Reaktionen: Midnight Sun
@Caseking-Mike ist euch die Breite am unteren Teil bekannt?

/Edit: hab schon die nötige Information bekommen.
 
Zuletzt bearbeitet:
  • Gefällt mir
Reaktionen: Caseking-Mike
Hallo Midnight Sun,

wir werden versuchen, die vollständigen Maße dieses Artikels auf unserer Produktseite bereitzustellen.

Liebe Grüße
Mike
 
  • Gefällt mir
Reaktionen: Midnight Sun
Hallo Midnight Sun,

hier noch als Nachtrag die vollständigen Maße.

Liebe Grüße
Mike
 

Anhänge

  • image_2022_09_07T12_07_07_330Z.png
    image_2022_09_07T12_07_07_330Z.png
    66,6 KB · Aufrufe: 246
  • Gefällt mir
Reaktionen: Midnight Sun
AMD Ryzen 9 9950X3D2
Zurück
Oben