Das Patent ist total wertlos!
Erstens ist es nichts neues und damit anfechtbar und zweitens ist es total leicht umgehbar.
In Deutschland würde das gar nicht durchkommen und auch in den USA ist es sehr anfechtbar wegen Prior-Art durch Watercool.
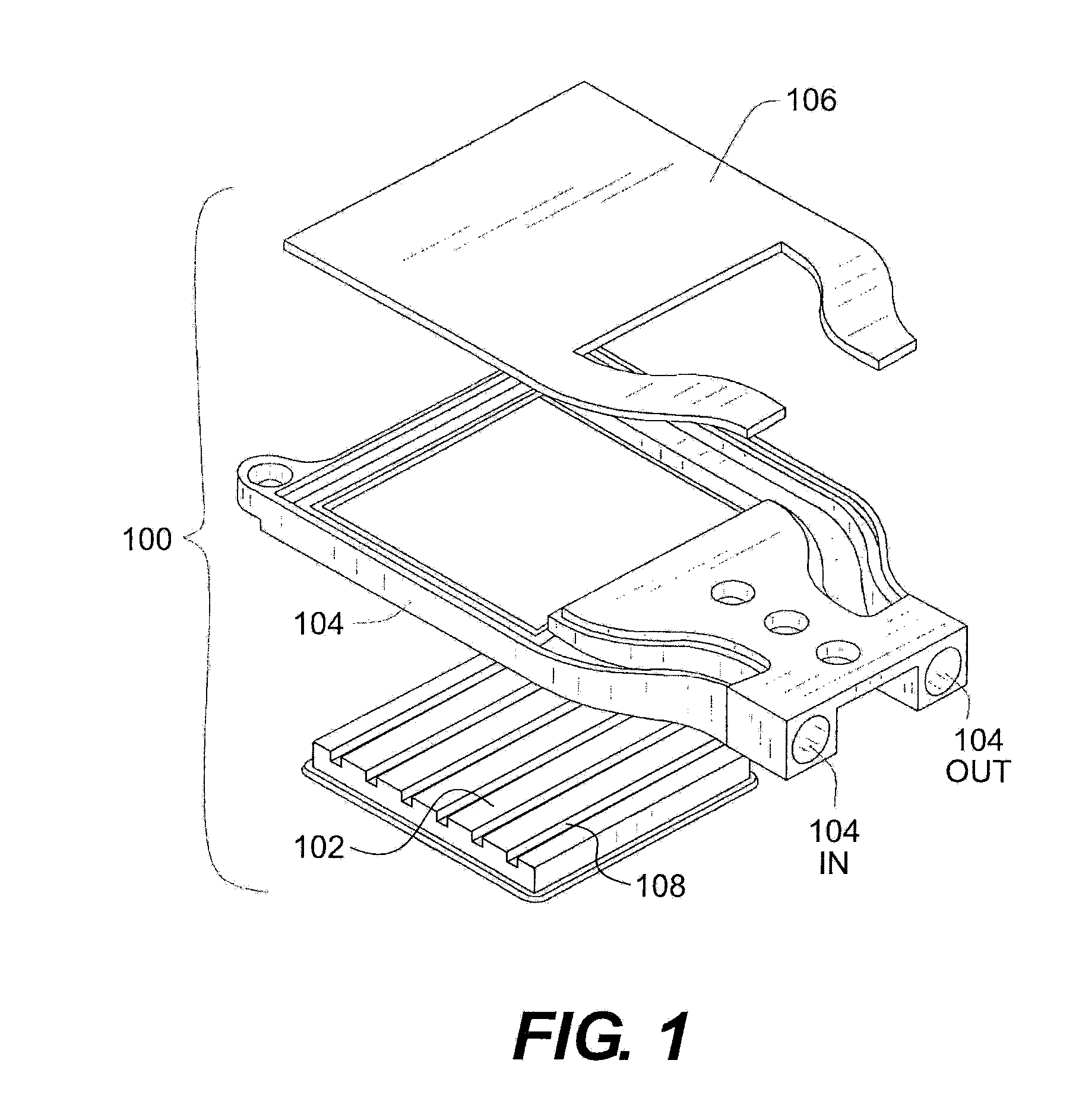
Das ist praktisch dasselbe wie der GPU-2.5 mit dem feinen Unterschied, dass die Heatspreaderplatte nicht zwischen Boden und Deckel liegt sondern auf den Deckel des aufgeschraubt wird.
Das macht Konstruktiv gar keinen Sinn, da die Methode des GPU-2.5 den Heatspreader auch in den Wasserkreislauf einzubinden erstens viel effektiver und zweitens viel billiger herzustellen ist. Schraubt man den Heatspreader auf der Deckeplatte auf muss man 10-15mm Höhenunterschied überwinden bis zu den RAMchips und VRM, man braucht also teure tiefgezogene bleche oder Aluminiumdruckguss. Bei Watercool dagegen konnte es kostengünstig aus Blech gestanzt werden.
Die zweite patentierte Möglichkeit ist noch Haarsträubender: Der Heatspreader wird zwischen GPU und Kühler eingesetzt, was heißt zweimal Wärmeleitpaste verbauen - das ist sowas von ineffizient und wird einfach keinen Blumentopf gewinnen.
Da fehlt für ein Deutsches patent einfach die erfinderische Höhe und der wirtschaftliche Nutzen. In den USA muss ein Patent aber weder schlau, noch sinnvoll sein, daher haben die es wohl nur dort durchbekommen.

Zudem ist das Patent schon nicht mehr für den fall güötig, wenn man das heatspreaderblech nur an der Seite oder unten aufliegen lässt. -lediglich wenn die Wärmeleitende Kontaktfläche direkt gegenüber und parallel zur GPU ist, wäre das patent anwendbar. Da dies aber der ingenieurstechnisch sowieso abwegigere Weg ist, haben Swiftech und CoolerMaster keine probleme daran vorbei zu navigieren. Entweder so wie es Watercool vor 8 Jahren schon gelöst hat - direkter Wasserkontakt durch dazwischenlegen- eine sehr effiziente Methode - oder eben seitlich anbringen...
Watercool und Aquacomputer sind da freilich schon viel weiter - obwohl man aus fertigungs- und supply Sicht den "Fullcoverblock" durchaus auch als Rückschritt gegenüber der Modulbauweise sehen kann.
Ich finde den Core LT/LC deswegen so gelungen, da fehlen eben nur noch wieder die custom bleche wie damals beim GPU 2.5

Die Effizienteste Methode war freilich der GPU-X2 8800 - Bodenplatte über die ganze Karte aus einem Stück, trotzdem modular

- das war zwar einfach und sleek aber wahrscheinlich toleranztechnisch ein Alptraum in der Fertigung.
Ein FC-block darf mehr kosten als was gepuzzeltes und den muss man halt nach einer Generation entsorgen, aus Herstellersicht alsoviel besser als alle Modulkonzepte
Schade für Watercool, da hätte man vor einigen Jahren echt starke Patente anmelden können...