TeamViewer Motive 3
  • Mitspieler gesucht? Du willst dich locker mit der Community austauschen? Schau gerne auf unserem ComputerBase Discord vorbei!

[Gerücht] Nachfolger der Switch könnte eine DS werden

Krik

Fleet Admiral Pro
Registriert
Juni 2005
Beiträge
18.220
Hallo zusammen,

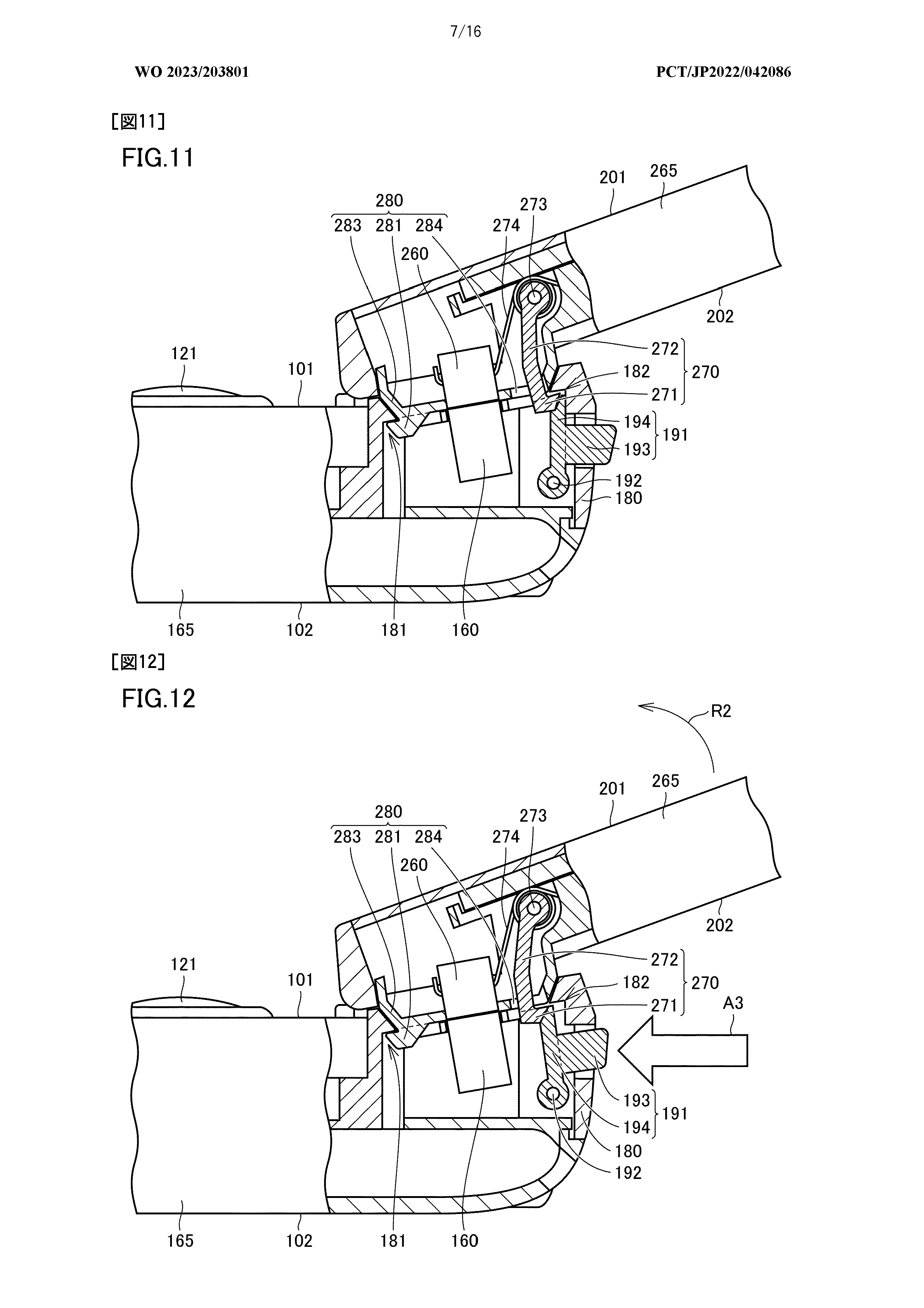
vor kurzem ist jemand über ein Patent von Nintendo gestolpert, dass vor ca. 1 Jahr ausgestellt wurde. Es zeigt ein Handheld, dass grob betrachtet, wie eine Art Switch DS aussieht.

1698749118736.png


Beide Hälften können übereinander gesteckt werden:

1698749169837.png


Und, jetzt wird es spannend: Beide Hälften können voneinander getrennt werden. Es scheint ein Klicksystem sein, bei dem man die obere Hälfte bei 0° und bei 180° auf die untere Hälfte stecken kann. Bei dem unteren Bild ist der Lösehebel mit einem Pfeil markiert.

1698749886751.png


Die obere Hälfte kann als "Fernseher" aufgestellt werden. Weiterhin soll es auch weiterhin einen TV- und einen Handheld-Modus geben, wie sie von der Switch bekannt sind.

Quelle für all das: https://patentscope.wipo.int/search/en/detail.jsf?docId=WO2023203801 (Patent)


Nehmt diese Informationen nicht für bare Münze. Es wird nämlich auch spekuliert, dass Nintendo mit diesem Patent eigentlich nur DS-ähnliche Produkte bei der Konkurrenz unterbinden will.

Der Nachfolger der Switch wird für das zweite Halbjahr 2024 erwartet.

Gruß
Krik
 
  • Gefällt mir
Reaktionen: end0fseven
Geräte mit einem ähnlichen Design gab es schon vor 20 Jahren, das hieß damals Sidekick bzw. Hiptop.
 
Nintendo wird wohl ein XR-Headset anbieten. Mario boxt Bowser im Supermarkt. Pokemon fangen und Co.
 
@Fujiyama
Es gibt einen Haufen Designs dieser Art. Es ist allerdings auffällig, dass dieses Patent noch recht frisch ist.

Ein XR-Headset wird es nicht. Die Nintendo-Konsolen liegen typischerweise bei 300-400 €, da bekommt man keine vernünftige Brille zusammen. Und die Brillen sind aktuell gesellschaftlich noch nicht akzeptiert. Es wird was klassisches werden, dass man auch als Handheld verwenden kann. Wie sonst soll man Pokemons in der Pause auf dem Schulhof tauschen?
 
Bin echt gespannt was da kommt. Hatte bereits zwei mal eine Switch für ein paar Spiele. Leider habe ich dann öfter das interesse verloren und habe diese wieder verkauft.

Ich fände es schön, wenn die Spiele für alle Plattformen angeboten werden könnten. Finde für mich die Idee mit einem Steamdeck nicht schlecht, hat mehr Leistung und die deutlich höhere Spielauswahl.

Nintendo könnte ja weiterhin eine Switch "2" anbieten und wer die volle "experience" haben will, muss sich halt eine Switch kaufen.
Man könnte ja mit Valve einen Deal eingehen, dass Nintendo Spiele in Zukunft nur über Steam angboten werden und vielleicht das Siegel "Steam Deck" haben müsste.

Mich würden auf jeden Fall einige Spiele interessieren, aber finde für vielleicht 5 Spiele eine komplette Konsole zu kaufen für mich nicht praktisch.
 
@end0fseven
Das Steam Deck hat eine andere Zielgruppe als die Switch. Erstere ist für ein erwachsenes Publikum gedacht, während die Switch vor allem auf Kinder zielt. Die Erwachsenen wollen gute Technik sehen, den Kindern ist das wurscht - Hauptsache es ist bunt und quietscht.

Leistungsmäßig liegen das Steam Deck und die Switch weit auseinander. Das ist aber auch nicht verwunderlich, da das Steam Deck ca. 1,5 Jahre und die Switch ca. 6,5 Jahre alt sind. Es wird gemunkelt, dass die Switch 2 leistungsmäßig ca. die 3-4fache Leistung einer Switch 1 hat und damit ungefähr auf Steam Deck-Höhe landet. Es soll auch wieder einen Nvidia-SoC verbaut sein, sodass DLSS quasi garantiert ist.

Ich glaube nicht, dass sich Nintendo so öffnen wird, dass deren Spiele auch auf anderen Plattformen laufen werden. Soweit ich weiß, haben sie das noch nie gemacht. Ich kann mich aber auch irren.
 
Krik schrieb:
Ich kann mich aber auch irren.
Tatsächlich irrst du dich. Auf Smartphones hat Nintendo mittlerweile Einzug gehalten. Die klassischen Nintendo-Games, die nur auf der Konsole zu finden sind, sind aber weiterhin typische exclusives.
 
Krik schrieb:
Das Steam Deck hat eine andere Zielgruppe als die Switch. Erstere ist für ein erwachsenes Publikum gedacht, während die Switch vor allem auf Kinder zielt. Die Erwachsenen wollen gute Technik sehen, den Kindern ist das wurscht
Ich glaube da vertust du dich. Es sind Spiele und Geräte für Familien, und Menschen aller Altersklassen. Animal Crossing wird wohl von weitaus mehr Menschen ü30, als von irgendwelchen Kindern gespielt. Auch die ganzen RingFit und anderen Partyspiele richten sich an Erwachsene, die irgendwas Casual mäßiges an einem Partyabend spielen wollen. Anders nehme ich die Switch kaum noch wahr. Kinder spielen heute überwiegend auf Smartphones, und so mit ca. 12 Jahren geht es dann rüber zu Call of Duty, Fortnite oder Lol.

Nebenbei bemerkt, hat dieses Patent nichts, aber auch wirklich gar nicht mit einem DS zu tun. Das Patent beinhaltet vielmehr die komplette Trennung von beiden Screens. Das wäre etwas völlig Anderes.
 
Hast du mal Ringfit gespielt? Ich ja. Das ist nix für einen Partyabend, es sei denn du stehst auf verschwitzte Leute.;)
 

Ähnliche Themen

Zurück
Oben