Arbeits- und Spiel Pc

djducky schrieb:
Wie gesagt, es wurde alles besprochen:
  • 4K kommt erstmal noch nicht, vorhanden ist FHD, 2K soll übergangsweise kommen
  • In zwei, drei Jahren soll ggf. ne neue CPU kommen
  • GPU-Aufrüstung ist auch geplant, dann für 4K (So habe ich das jedenfalls verstanden.)
  • Es soll Videoschnitt betrieben werden, daher mein Rat zur Nvidia
Ich möchte gerne eine 5070 Ti kaufen, aber das sprengt echt mein Budget. Meinst du, die 5070 würde mich enttäuschen? Spätestens in zwei Jahren werde ich sowieso definitiv upgraden.
 
Wenn dir 12GB Vram reichen... Wie hoch der Leistungsvorsprung der Ti ist sieht man ja in Tests.
 
@djducky Dann macht 5070 Ti sinn.Ich habe genau 2100 euro budget.
Ergänzung ()

1748005900553.png

können wir so eine pc im 2000-2100 euro budget bauen.Habt ihr ideen
 
Zuletzt bearbeitet:
Sag mal, jetzt mal ganz ehrlich. Du bist Student und arbeitest für Social Media, hier aber hüpft du von einer Idee zur anderen und schreibst kaum informative Oneliner...

Wo kommt jetzt wieder der 9950x her? Waren wir nicht beim 9900X? Und woher das mittelgute Netzteil, Und das Showcase Gehäuse (Im Eingangspost schreibst du noch "bitte nicht zu viel RGB")? Und nur 32gb Ram? Und das sackteure Mainboard das du wozu brauchst?

Als hätten wir das nicht tagelang besprochen?

Edit: Hier nochmal mein Vorschlag, mit 9900X statt 9950X. Da ist auch ne 5070 Ti drin. Und du kommst auf ~2.000€
 
Zuletzt bearbeitet:
  • Gefällt mir
Reaktionen: Model
djducky schrieb:
Sag mal, jetzt mal ganz ehrlich. Du bist Student und arbeitest für Social Media, hier aber hüpft du von einer Idee zur anderen und schreibst kaum informative Oneliner...

Wo kommt jetzt wieder der 9950x her? Waren wir nicht beim 9900X? Und woher das mittelgute Netzteil, Und das Showcase Gehäuse (Im Eingangspost schreibst du noch "bitte nicht zu viel RGB")? Und nur 32gb Ram? Und das sackteure Mainboard das du wozu brauchst?

Als hätten wir das nicht tagelang besprochen?

Edit: Hier nochmal mein Vorschlag, mit 9900X statt 9950X. Da ist auch ne 5070 Ti drin. Und du kommst auf ~2.030€
djducky schrieb:
Sag mal, jetzt mal ganz ehrlich. Du bist Student und arbeitest für Social Media, hier aber hüpft du von einer Idee zur anderen und schreibst kaum informative Oneliner...

Wo kommt jetzt wieder der 9950x her? Waren wir nicht beim 9900X? Und woher das mittelgute Netzteil, Und das Showcase Gehäuse (Im Eingangspost schreibst du noch "bitte nicht zu viel RGB")? Und nur 32gb Ram? Und das sackteure Mainboard das du wozu brauchst?

Als hätten wir das nicht tagelang besprochen?

Edit: Hier nochmal mein Vorschlag, mit 9900X statt 9950X. Da ist auch ne 5070 Ti drin. Und du kommst auf ~2.000€
Du hast vollkommen recht, wir hatten uns eigentlich auf den 9900X geeinigt und das auch ausführlich durchgesprochen. Aber ich dachte mir einfach: Wenn ich durch ein bisschen Sparen an anderer Stelle (z. B. beim RAM, Netzteil oder Gehäuse) den 9950X für denselben Preis bekommen kann – warum nicht? Wäre doch dumm, die Leistung liegen zu lassen, oder?





Ich sag nicht, dass alles in Stein gemeißelt ist – bin offen für Kritik. Vielleicht ist das Netzteil wirklich zu schwach oder das Board übertrieben. Lass uns da nochmal gemeinsam drüberschauen. Aber mein Gedanke war halt: mehr CPU-Power fürs gleiche Budget rausholen.
 
Nein, das Netzteil ist nicht zu schwach, es ist einfach qualitativ mittelprächtig und vergleichsweise laut. Kann man nehmen, geht aber deutlich besser.

Und deinen Workflow musst du selbst einschätzen können: Wozu brauchst du viele Kerne? zwischendurch warst du sogar mal mit acht zufrieden (9800X3D), dann 12, dann 16 - weißt du überhaupt, wieviel Multicore du brauchst? Wieviel RAM du brauchst?

Denn Video-und Grafikbearbeitung kann RAM und VRAM zum Frühstück fressen, gerade bei Bildbearbeitung ist Multicore-Leistung der CPU aber eher unwichtig. Bei Videobearbeitung wird es wieder interessanter, aber auch dort kann man inzwischen eine ganze Menge von der Grafikkarte erledigen lassen. genau deshalb habe ich auch eher für die Ti plädiert: 16GB VRAM und viel Leistung, auch für deine Spiele.

Für Videoschnitt würde ich nicht weniger als 64GB RAM nehmen. es sei denn, das ist wirklich nur marginal für ein par social-Media-Clips, aber auf entsprechende Anmerkungen meinerseits bist du nicht eingegangen bisher. Du weißt doch hoffentlich einigermaßen, was du für deinen Job brauchst und mit welchem Videomaterial du da arbeitest? Das weiß ich nicht für dich...

beim gehäuse hast du ja meinem vorschlag gegenüber draufgelegt und nicht eingespart. Willst du nun RGB oder nicht? Bitte zieh sowas doch mal klar, so hü und hott ist furchtbar anstrengend beim Beraten, auch, wenn ich gerne berate.

Ein 320€ Mainboard und überhaupt X870(E) würde ich aktuell nur empfehlen, wenn unbedingt USB4 dabei sein muss. Asonsten hat so ein Live Mixer alls, was du brauchst. oder brauchst du mehr als 3x m.2 und 2x SATA? Wenn ja, dann gib das an, gib uns die zum Beraten notwendigen Infos.
 
  • Gefällt mir
Reaktionen: Model und KarlsruheArgus
@djducky Danke dir für die ausführliche Rückmeldung – du hast völlig recht, das war bisher etwas sprunghaft von mir, und ich weiß deine Geduld beim Beraten wirklich zu schätzen.





Um ein paar Punkte klarzustellen:





  • RGB will ich definitiv nicht, da gab’s von mir wohl widersprüchliche Signale – mein Fehler. Das Gehäuse hatte ich wegen Airflow und Platz gewählt, nicht wegen RGB.
  • SATA werde ich ziemlich sicher nicht brauchen, eine zusätzliche SSD würde ich direkt als NVMe dazunehmen.
  • USB4 wäre für mich tatsächlich nützlich, weil ich ab und zu mit schnellen externen Laufwerken arbeite. Deshalb hatte ich überhaupt an ein X870E gedacht.
  • Beim RAM hast du recht – 64 GB sind langfristig wahrscheinlich sinnvoller, vor allem wenn es über Social Media hinausgeht.
  • Und was den 9950X betrifft: Ich will keine Kerne „nur so“ – mir geht’s klar um Leistung bei Rendering & Editing. Wenn ich den 9950X durch Einsparen an anderen sinnvollen Stellen ins Budget kriege, dann wäre das für mich eben die bessere Investition als z. B. in ein hochwertigeres Netzteil, das aber wenig Unterschied für die tatsächliche Arbeitsleistung bringt.







Wenn du sagst, dass ein günstigeres Mainboard mit USB4 (z. B. mit einem Live Mixer) alles Wichtige abdeckt, dann schau ich mir das nochmal genauer an.
 
B850 Boards wie das Livemixer haben kein USB4. Da wird es dann leider teurer, wenn du nicht in die Lanesharing-Falle tappen willst. Die beiden z.B., die bis auf die Farbe so gut wie identisch sind. Da gilt halt nur, dass man den zweiten PCIe-Kartenslot nicht belegen kann, wenn der dritte M.2 Slot belegt ist. Aber Erweiterungskarten braucht man ja immer seltener...

Gehäuse: Ich habe dir mehrere gehäuse in die Liste getan, das Lancool 216 ist ein top Airflow Gehäuse, Top 5 um genau zu sein. Und es kostet keine 100€.

Wie viele Kerne du nun wirklich auf der CPU brauchst musst du wissen. Ich weiß nämlich immer noch nicht, was für Videomaterial bearbeitest (Winkmitdemzaunpfahl) und wie groß und Komplex deine Projekte sind. Social Media Filmchen sind auch mit 12 Kernen oder der GPU fix gerendert.

Beim Netzteil würde ich jetzt wegen 20€ bei dem Gesamtbudget nicht knausern. Zu ATX 3.1 NT mit 850W die mehr als 20€ günstiger sind finde ich dann auch keine gescheite (Cybenetics)-Dokumentation - und das eigentlich sehr gute FSP Vita für 100€ mag ich aufgrund bekannter Serienstreuung bei den Lüftern nicht mehr empfehlen.
 
@djducky 16 kerne ware gut aber ich denke 64gb ram ist wichtiger.Dann ich nehme 64gb ram & 9900x & 5070 Ti.Vielleicht 1-2 jahren ich upgrade cpu.
 
  • Gefällt mir
Reaktionen: djducky
Ich denke, dass du mit dem 9900X auch länger als ein, zwei Jahre hinkommen wirst. Ist ja auch nicht gerade langsam. Ich weiß halt immer noch nicht, was für Projekte du so schneidest...
 
@djducky Einfach videos vlogs animationen screen capturing alles was man im youtube instagram und linkedin gepostet.Als auch photoshop.
 
Sagt mir halt nix über das Ausgangsmaterial und wie komplex deine Projekte wirklich sind... ;)
 
  • Gefällt mir
Reaktionen: KarlsruheArgus
@djducky Ich arbeite mit DaVinci Resolve, CapCut, Photoshop und Canva. Ich mache kurze und lange Videos in 4K – je nach Projekt mal einfacher, mal aufwändiger. Schnitt, Gestaltung und Konzept übernehme ich meistens selbs

Zurzeit habe ich 16gb ram und das ist total Katastrophe für mich.
 
Mit 64Gb solltest du besser hinkommen. Ob sich 96Gb (Crucial Pro) noch lohnen musst du dann selbst wissen. Wäre dann in Spielen etwas langsamer, aber soviel willst du ja nicht spielen.
 
  • Gefällt mir
Reaktionen: KarlsruheArgus
@djducky Ich bin bei der Mainboard-Wahl ziemlich unsicher – viele sagen, dass MSI-Modelle problematisch sein können.
 
Efekachow13 schrieb:
viele sagen, dass MSI-Modelle problematisch sein können.
Mal ist es ASRock, mal Asus und mal MSI.
Probleme hast du bei allen Herstellern auch bei den aktuellen Generationen.

Nimm einfach das Board was @djducky empfohlen hat.
 
  • Gefällt mir
Reaktionen: djducky
@KarlsruheArgus Ja, das stimmt, aber mir sind auch die Port-Geschwindigkeiten wichtig. Außerdem möchte ich in Zukunft die Anzahl der SSDs erweitern. Würde ein B860-Mainboard da Probleme machen?
 
Efekachow13 schrieb:
Würde ein B860-Mainboard da Probleme machen?
Das ist Intel :confused_alt:
Efekachow13 schrieb:
Ja, das stimmt, aber mir sind auch die Port-Geschwindigkeiten wichtig.
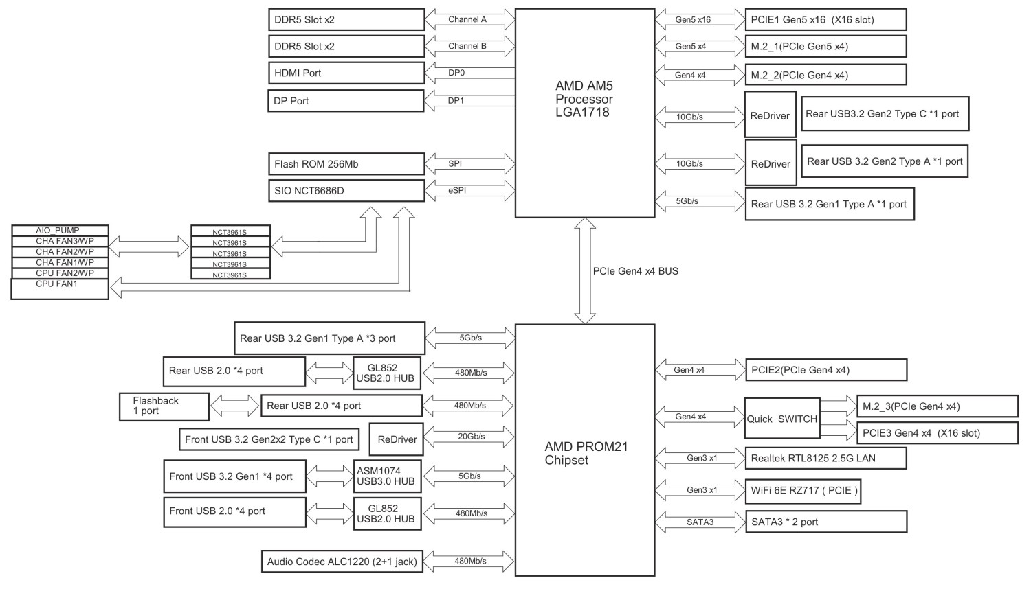
Reichen dir 2.5Gbit/s und drei NVMEs nicht ?
1748118473790.png
1x USB-C 3.1 (10Gb/s), 1x USB-A 3.1 (10Gb/s), 4x USB-A 3.0 (5Gb/s), 8x USB-A 2.0 (480Mb/s), 1x RJ-45 (2.5GBase-T, Realtek RTL8125BG)
 
  • Gefällt mir
Reaktionen: djducky
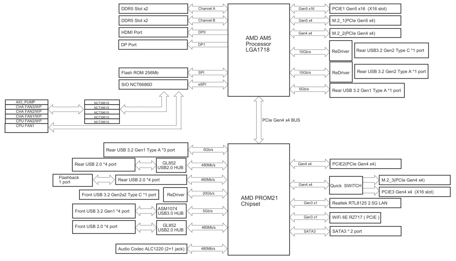
KarlsruheArgus schrieb:
Das ist Intel :confused_alt:

Reichen dir 2.5Gbit/s und drei NVMEs nicht ?
Anhang anzeigen 1620672
1x USB-C 3.1 (10Gb/s), 1x USB-A 3.1 (10Gb/s), 4x USB-A 3.0 (5Gb/s), 8x USB-A 2.0 (480Mb/s), 1x RJ-45 (2.5GBase-T, Realtek RTL8125BG)
Ich übertrage oft große Dateien per USB, daher sind mehrere schnelle USB-Ports für mich sehr nützlich.

Aber Pcie lines wird reichen
 
Zurück
Oben