Gelegentliche Freezes beim Spielen und ab und zu BSOD

z3r091

Cadet 3rd Year
Registriert
Feb. 2022
Beiträge
45
Hallo,

ich habe seit ein paar Wochen das Problem, dass beim Spielen von Star Citizen der PC einfriert.
Nach dem einfrieren gibt es 2 Szenarien:
1) Er fängt sich nach 30-120 Sekunden wieder und ich kann weitermachen. In der Ereignisanzeige habe ich nichts gefunden. Ich muss aber nochmal im Zuverlässigkeitsbericht schauen, wenn das Problem das nächste Mal auftritt.
2) Der PC startet nach einiger Wartezeit dann neu - ich sehe keinen BSOD.

Das Dump sieht wiefolgt aus:
1750672287806.png


Am 12. ist er ebenfalls, mit der komplett identischen Symptomatik abgestürzt.

Ich hatte gelesen, dass das AMD Adrenalin manchmal solch Probleme macht, und habs dann am 12. auch direkt deinstalliert. Nach dem heutigen Absturz weiß ich, dass es scheinbar nicht daran lag.

DRIVER_POWER_STATE_FAILURE kommt wohl häufig in Verbindung mit Standby. Aber da ich aktiv am PC am machen bin, kann ich mir nicht vorstellen, dass er im Absturzmoment versucht, den PC in den Standby zu versetzen.

Hier noch 2 Screenshots aus der Zuverlässigkeitsüberwachung:
1750672450739.png

1750672460371.png

1750672595860.png

1750672621949.png


Auffällig finde ich, dass bei beiden Malen der Logi Options+ AppBroker drin steht UND der Killer ProviderDataHelper Service - der aber auch direkt bei Absturz. Der Logi Options ist zeitig eher unabhängig davon.

Habt ihr Ideen, wonach ich schauen könnte?
Treiber sind soweit eigentlich alle aktuell.
 
@Janoe

Gehäuse: Lian-Li LANCOOL 216 RGB
Mainboard: ASRock B850 Riptide WiFi
CPU: AMD Ryzen 7 9800 X3D
CPU Kühlung: be quiet! Light Loop 360
RAM: Patriot DIMM 64 GB DDR5-6000 (2x 32 GB) Dual-Kit
Grafikkarte: MSI GeForce RTX 5070 Ti 16G INSPIRE 3X OC PLUS
Netzteil: be quiet! PURE POWER 12 M | 1000W
Lüfter: 5x be quiet! LIGHT WINGS LX 120mm PWM
Speicher: 2x Lexar NM790 4 TB ; 1x SAMSUNG MZ-V7S1T0BW SSD 970 EVO PLUS 1TB
Maus: Razer Pro Click & Logitech MX Master 3S for Business
Tastatur: Logitech G815 Linear
Soundsystem: Teufel CONSONO 25 CONCEPT Surround "5.1-Set"
Monitor: 2x AOC Q27G4X

Windows 11 Pro 24H2 26100.4351
 
Zuletzt bearbeitet:
Jetzt kläre uns mal auf, warum du den AMD Adrenalin auf dem System hast, obwohl du eine nVidia verbaut hast?
 
Habe ich ja gar nicht mehr drauf. :-)
Man konnte damit die CPU Werte ganz schön tracken. Temperatur etc.
 
  • Gefällt mir
Reaktionen: Simonte
ich würde zuerst ein bios update machen und dann sämtliche treiber neu installieren.

amd chipsatz, netzwerktreiber und nvidia gpu treiber herunterladen, windows vom internet trennen, regulär deinstallieren und dann die grafiktreiber mit DDU nvidia+amd adrenalin sauber runterputzen und dann OFFLINE alles sauber neu installieren und dann erst wieder lankabel anstecken.

wenn die probleme dann noch bestehen, kann man mehr richtung hardware schauen.
 
Ich möchte nur einen kleinen hinweis anstossen. Es muss nicht zwangsweise immer ein hardware problem oder defekt vorliegen.
Es kann auch schlicht und ergreifend an der software liegen. Sollten noch mehr spiele betroffen sein würde ich auf die Hardware tippen. Aber anhand der Beschreibung liegt es nahe dass es sich bei dem Problem um einen Softwarefehler des Spiels handelt.
 
Dem Spiel wäre das definitiv zuzutrauen. Ist ja eine (ewige) Alpha, allerdings dann wohl doch etwas spezifisches - sonst wäre das vermutlich schon bekannt.
Momentan spiele ich tatsächlich gar nichts anderes, könnte also gar nicht sagen, ob es auch bei anderen Spielen passiert.
Vor längerem habe ich beide Last of Us Teile am PC gespielt, da hatte ich gar keine Probleme.
 
Aus deinen Dateien ist kein typischer hardware defekt zu erkennen. Du könntest einen hardware Stresstest machen um zu sehen ob irgendwas davon Probleme macht. Das kannst du zb mit occt machen. Die Software ist kostenlos. Prime95 und cinebench loops eignen sich auch
 
Okay, das ist meistens unerwünscht, aber eine Neuinstallation vom Windows wird wahrscheinlich helfen...
Natürlich sollten auch andere Spiele getestet werden.
Nicht, dass es daran liegt 😉
 
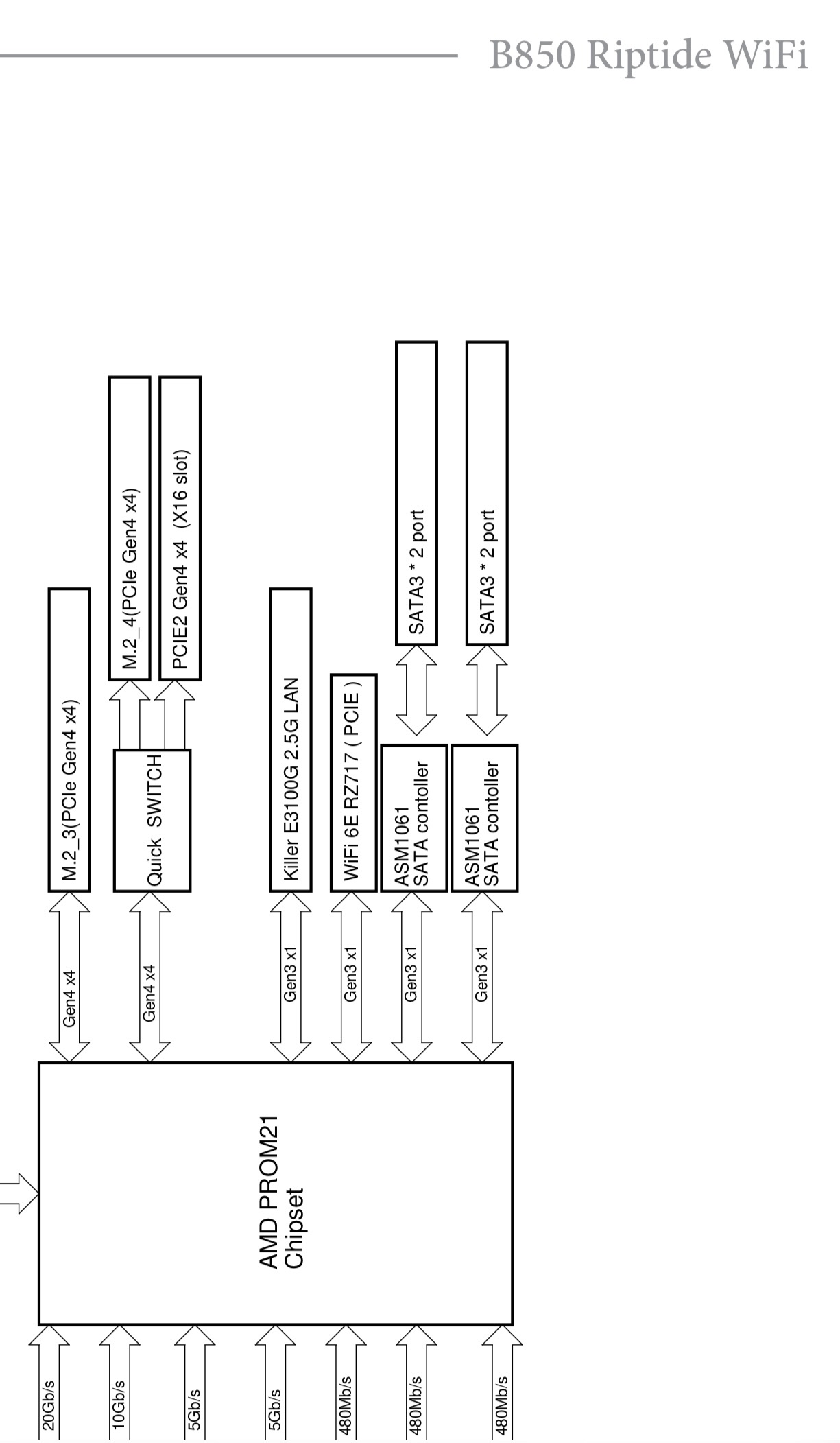
Mit dem Befehl !devstack mit der PDO-Adresse aus Arg2 sehe ich, dass der AHCI Treiber storahci.sys für den ASM1062 Serial ATA Controller das Problem ist:

0: kd> !devstack ffffd209aa339120
!DevObj !DrvObj !DevExt ObjectName
ffffd209aa375050 \Driver\storahci ffffd209aa3751a0 InfoMask field not found for _OBJECT_HEADER at ffffd209aa375020

ffffd209aa326c90 \Driver\ACPI ffffd209a85a4010 InfoMask field not found for _OBJECT_HEADER at ffffd209aa326c60

ffffd209aa339120 \Driver\pci ffffd209aa339270 Cannot read info offset from nt!ObpInfoMaskToOffset

!DevNode ffffd209aa34ab60 :
DeviceInst is "PCI\VEN_1B21&DEV_0612&SUBSYS_06121849&REV_02\6&10d1bf63&0&00200011"
ServiceName is "storahci"


Welche SATA Geräte nutzt du noch?
 
IDontWantAName schrieb:
Welche SATA Geräte nutzt du noch?

Dahinter versteckt sich das angehängte Gerät.
Treiberdatum schon etwas alt.

An den SATA Anschlüssen vom MB hängt nichts.
Was läuft denn noch über solch einen Controller? Die USB-Anschlüsse vom MB?

https://www.asmedia.com.tw/products-list/8a2YQ99xzaUH2qg5/58dYQ8bxZ4UR9wG5
Hiernach geht es bei den Dingern um eine Brücke PCIe zu SATA. Also vermutlich die Verbindung der M2 zu SATA? Die 2 Lexar sind neu (Februar), die Samsung ist 2-3 Jahre alt.

Hab eben gesehen dass ich’s BIOS updaten kann. Da kam vor 6 Tagen was Neues. Das wird zeitnah gemacht. Aber ich denke nicht, dass das was am Problem ändern wird.

Edit:
Laut dem 2. Bild aus dem Handbuch sind’s die SATA Ports.
 

Anhänge

  • Unbenannt.jpeg
    Unbenannt.jpeg
    60,5 KB · Aufrufe: 113
  • IMG_6620.jpeg
    IMG_6620.jpeg
    204,7 KB · Aufrufe: 102
Zuletzt bearbeitet:
@IDontWantAName
Ich glaube das geht nicht. Sollte eig im Menü vom Bild die Option geben. Aber da ist nichts… :-/
 

Anhänge

  • IMG_6622.jpeg
    IMG_6622.jpeg
    4,1 MB · Aufrufe: 114
Zurück
Oben