News GeForce RTX 4000 „Ada“: Andere Eckdaten, TDP und Termine im Wochentakt

ETI1120 schrieb:
Einen zusätzlichen Interposer wird es nicht geben.
Ich dachte an das hier:
1652944942731.png

Du denkst wahrscheinlich hieran:
1652944968600.png

Für mich ist nach wie vor beides möglich, da ich nicht tief genug in der Materie bin um die Vor- und Nachteile zu beurteilen.
ETI1120 schrieb:
Eine teure Lösung mit Interposer ist extrem unwahrscheinlich. Und so richtig verstehe ich nicht warum es notwendig sein soll bei einem monolithischen Design den Infinity Cache auszulagern.

Und so richtig glaube ich nicht daran, daß AMD für dasselbe Problem zwei unterschiedliche Lösungen umsetzt.
Gut gesagt, da stimme ich 100% zu.
 
Cohen schrieb:
Es wird ja niemand gezwungen, die Karte im Sommer bei 32°C und mehr auch voll auszufahren. Da gibt es ja genug Möglichkeiten, die Leistungsaufnahme und Wärmeentwicklung für die heißen Monate zu reduzieren:

Ich würde da undervolting als Haupt Ersparniss nennen.
Oder das begrenzen des power targets.

Zb. Jetzt wo es so warm ist, zocke ich im 1710mhz (769mv) 230 Watt low end Profil, maximal im 1920mhz 330watt Profil. 3080ti
 
Colindo schrieb:
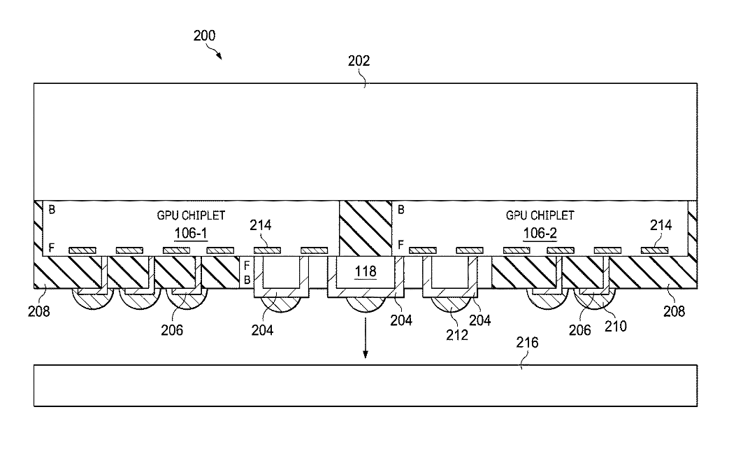
Das ist die MI 200, die entsprechend des Patents US20200409859 "GPU CHIPLETS USING HIGH BANDWIDTH CROSSLINKS" umgesetzt wurde. 118 ist die passive Siliziumbrüche die die beiden GUP Chiplets 106-1 und 106-2 verbindet. Im Patent heißt 118 passive crosslink.

210 ist im Patent explizit ein "circuit board" aus keramischen oder organischen Material.

Die schnellen Verbindungen laufen in der 118 der Siliziumbrücke, die langsameren im RDL 222 . Das Circuitboard 210 dient hauptsächlich zur Verbindung zu den C4 Bumps 216.

Es gibt keinen Interposer, durch den bei klassischen 2.5D-Verfahren wie CoWoS von TSMC alle Verbindungen zwischen den Chips laufen. Durch den Verzicht auf den großen Interposer spart AMD erheblich Kosten ein. Da das Recticlelimt von 26 mm x 33 mm auch für die Interposer gilt, erfordert das Belichten von großen Interposern einen großen Aufwand. Eine kleine Siliziumbrücke lässt sich sehr einfach fertigen.

Die GPU-Chiplets werden durch Microbumps 208 mit dem RDL 222 verbunden.

212 sind Kupferposten, die über der RDL erstellt werden und die den RDL 222 mit dem circuit board 210 verbinden. 218 und 220 sind sogenannte Molding Layer. Molding meint das vergießen der Chiplets mit einem wärmeleitfähigen Polymer. Das ist ein Kernschritt des FanOut-Prozesses. Das verleiht dem ganzen die mechanische Stabilität.

RDL = Redistribustion Layer.

Wäre RDL 222 direkt mittels Microbumps mit dem Substrat verbunden, hätten wir ein klasischen FanOut wie TSMC InFo oder Fan-Out Chip on Substrate (FOCoS) von ASE. Die oben gezeigte Variante entspricht sFOCoS von ASE. Die Variante mit Siliziumbrücke bei TSMC heißt InFO-L(SI). Ob TSMC auch Kupferposten verwendet weiß ich momentan nicht. Beides ist vergleichbar mit Intels EMIB.

Colindo schrieb:
Du denkst wahrscheinlich hieran:
Anhang anzeigen 1219679
Auch, es gibt in den Patenten andere Darstellungen, die mehr verraten, siehe unten
312 und 314 sind die aktiven Schaltkreise. 304 sind die TSV. Wenn man genau hinschaut erkennt man dass es hier zwischen TSV und den GCD keine Microbumps gibt. Das heißt die TSV die durch die Active Bridge gehen, werden direkt mit der Metalisierungsebene der Chiplets verbunden.

Das fehlen der Microbumps ist für mich der eindeutige Hinweis, dass hier TSMC SoIC geplant ist. Wie beim 5800X3D. Da keine Microbumps erforderlich sind, ist eine Verbindung mit kleinen Abständen und hervorragenden elektrischen Eigenschaften möglich. Die Bandbreitendichte und Effizienz des Datentransfers sind im Vergleich zu anderen Verbindungstechniken enorm.

Die Anordnung GCD oben Active Bridge unten erwarte ich nicht. Sie hat den Vorteil, dass die GDC besser gekühlt werden da der Kühler oben ist. Allerdings ist die Signalführung ungünstiger, da alle Signale (Speicher, CPU) und die Versorgungsleitungen zu den GDCs IMO durch die Active Bridge geführt werden müssen.

1652959394343.png

Diese Grafikzeigt die Anordnung die ich eher erwarte, die Metalisierung auf den Chiplets (GCD!) die Active Bridge (X3D!) auf der Rückseite der GCD. Da der Zugriff auf den GDDRAM und CPU von den Chiplest erledigt wird, gibt es keinen Bedarf für viele externe Verbindungen zur X3D. Es werden allerdings viele TSV von der Vorderseite F auf die Rückseite B des GCD geführt. Da hier keine Microbumbs gebildet werden wird ein Hybridbondingprozess wie TSMC SoIC verwendet.

Die Anordnung von Bild 5 D entspricht dem 5800X3D. Auch wenn die meisten Grafiken etwas anderes suggerieren. Auch beim 5800X3D sind die Metalisierungsebenen mit den Bumps an der Vorderseite des CCDs und die TSV gehen durch den CCD zum 3D-Cache der auf die Rückseite des CCDs aufgebracht wird..

Es gibt keinen RDL was gegen FanOut spricht es gibt keinen Interposer was gegen 2.5D spricht.
Natürlich kann AMD so eine GPU auf einen RDL oder Interposer setzen um die GPU in ein größeres Package zu integrieren. Ich gehe davon aus, dass sie nur auf ein Substrat kommt.

Falls RDNA3 eine Multi-GPU wird dann entsprechend dieser Patente d. h. mit TSMC SoIC. Deshalb gehe ich davon aus, dass der 5800X3D und Milan-X nur die Generalprobe sind.

Ich bin mir relativ sicher, dass AMD dem Rectile Limiit (26mm x 33 mm) nicht nahe kommen wird. Meiner Meinung nach hat AMD sich entschieden den Weg über das Advanced Packaging zu gehen.
 
  • Gefällt mir
Reaktionen: Colindo
Colindo schrieb:
Noch eine Frage hätte ich: woher weißt du denn, dass CDNA 2 auf dem erstgenannten Prozess basiert? Ich habe das noch nirgends so zugewiesen gelesen.

Das habe ich von vielen Seiten gelesen.

Es gibt die Folien von AMD zur Elevated FanOut Bridge die bei der MI200 verwendet wird, die stammen wohl aus einem Vortrag von AMD.
1652971779321.png

1652971868981.png

Diese Folien passen zum ersten Patent mit der passiven Brücke


Auf Twitter hat Retired Engeneer einges Tweets zu diesem Thema:
https://twitter.com/chiakokhua/status/1475998447891148800

Auch Semianalysis berichtet davon
https://semianalysis.com/advanced-p...se-sony-micron-skhynix-ymtc-tesla-and-nvidia/

SPIL ist Teil von ASE
 

Anhänge

  • 1652972679105.png
    1652972679105.png
    1,2 MB · Aufrufe: 304
  • 1652972702291.png
    1652972702291.png
    1,2 MB · Aufrufe: 306
Zuletzt bearbeitet:
  • Gefällt mir
Reaktionen: Colindo
Cyberbernd schrieb:
Leider fehlen die Games die auch diese Mehrleistung benötigen...
Mit UHD 120Hz sieht man das anders als mit UHD 60Hz oder QHD 100Hz.
Für mich wird die RTX4080 die erste brauchbare 4K Grafikkarte für 100FPS+
 
Laphonso schrieb:
Das Monty: NULL eigenen content,
Das Monty ist halt auch nur ein Quasselkopp, der selten etwas wertvolles zum Thema beitragen kann. Da ist mir die professionelle Aufarbeitung von Computerbase doch deutlich lieber.
 
  • Gefällt mir
Reaktionen: Laphonso
Yt ist für Unterhaltung da und genau das tut der Herr
Er nform,iert auf schräge art.
Auch igor macht da videos um zu informieren und das recht charmant. Obeohl bei ihm dr inhalt deuitlich nerdiger ist. Wer kein Elektronik ingenuier ist versteht nur das gröbste.
Dafür ist er genau mit den Fazits und erklärt diese auch so das es laien verstehen.
bsp das letzze video das Endlich erklärt wo den der unterschied zwischen amd tdp und nvidia tbp ist und was da amd wattman anzeigt.
Kurz Müll
Ich nehme auch ahoc sehr ernst ein nerd der speziell für OC von cpu videos macht uind mit mainboarf designs aufregt oder gpu board designs.
dagegen sind channels wie linus tech tips reine Unterhaltung und genau da sehe ich den monty nur in Deutsch.
Wenn technisch werden soll im berichten nehme ich rgt und mlid sowie adored tv dieser war ne Zeitlang verschwunden .
naja er hatte sich aber auch extremst ausn fenster gelehnt. in fen letzten Jahren
Auch sind mi etwas dusselige Pc yt wie jaytwocents er hatn guten cutter.
ich mag seine Experimente die Beratung ist solide für Laien geeignet. und allgemein ist das primär Unterhaltung.

Wer glaubt das solche videos leicht zu machen sind kennt die Arbeit dahinter nicht. und auch das talent sich so zu präsentieren.
Das was auch wichtig ist der cutter je einfallsreicher desto Unterhaltsamer.
channels wie HWU und gamer nexus wo nur Ergebnisse vorgelesen werden. Sind einfache videos aber erst mal die infos zu erstellen dauert.
Was aber alle die solche videos machen vergessen ist bei test die gpu load anzugeben wenn nur das maximale anzeigen soll ist das egal aber nicht wenn man beraten will welche kombi sinn macht.
Zudem fehlen mir legacy vergleiche
Es gibt seit 2002 kein spiel mehr bis auf ausnahmen die nicht auf ein aktuelles OS laufen udn für harte fälle Portierungen aus der dosbox bis zurück 1992
ich weiß das Ergebnisse extrem viel Arbeit sind.
Genauso wie ich gerne gametwo ansehe nämlich aus der Unterhaltung heraus. So sehe ich wen ich mal kein bock auf englisch habe den monty mal an.
Die meisten infos sind aber aus dem englischen raum. auch direkt zu den quellen.
In video form ist es nur einfacher als sich durch die Artikel zu quälen.
derweil zur computex gibt es reden von lisa su live am Montag und den Herrn jensen danach.
Beide werden was ankündigen nicht veröffentlichen.

Gerüchte sind dazu da Leistung einzuschätzen und seine Kaufpläne zu machen was den sinn macht, preise indes kann man prognostizieren sofern man die Marktlage kennt.
Den keiner von uns will geld versenken.
 
Zurück
Oben