News AMD Radeon RX 7000: Navi 3X und RDNA 3 sind hybrid in 5 und 6 nm geplant

Balikon schrieb:
Wenn es Multichip wird, dann bin ich echt gespannt, wie gut das funktioniert.

Ich habe keine Ahnung wie man sich das vorstellen muss. Wird AFR genutzt, und der I/O-Die achtet auf die Frametimes? Oder analysiert der I/O-Die die anlaufenenden Daten, um die Rechenlast gleichmäßig auf die Dies zu verteilen? Oder gibt es noch ganz andere Ansätze?
denke mal das eine ähnliche Verbindung wie im DIE beim MONO Chip genutzt wird
Infinity Fabric 3.0 mit 4 Tbit?
 
C4rp3di3m schrieb:
Schade wieder kein HBM :(

mfg
Wenn da wirklich 512mb Cache drauf sind, wer braucht dann noch HBM außer die Miner.
Falls das Teil nur 256bit bekommt dann ist das nur gut. Bedeutet kaum schneller beim Minen als eine 6800xt.
Ein 512mb Cache dürfte wirklich alles abfedern bei Games.
 
  • Gefällt mir
Reaktionen: MGFirewater, Colindo und medsommer
4to cka3al schrieb:
Könnte mir vorstellen, dass auch Software seitig von den Games viel nachträglich umgesetzt werden muss.
Die Software wird eine ganz normale einzelne GPU erkennen, wie sie auch bei einem Ryzen 5900X/5950X eine einzelne CPU erkennt und nicht 2.
Der Rest passiert in Hardware auf der Karte selbst und im Treiber.
Ergänzung ()

@SV3N wo kommen denn in der Tabelle die 192bit bei der 7700 her? Würde für mich jetzt erstmal nicht zu "8-16GB" passen, sondern eher zu 6-12 oder 12-24, womit wir wieder so komische Konstellationen haben könnten, dass Navi33 mehr Speicher bekommt als Navi32.
Es sei denn man nimmt überall das Maximum und sagt Navi33=16GB, Navi32=24GB, Navi31=32GB, aber das würde gerade eine 7600 ziemlich teuer machen, hätte sie damit ja quasi genau die Specs der 6900XT.
 
Zuletzt bearbeitet:
isyyy schrieb:
Mit 5120 gegen 15.360 ALUS darf man das doch erwarten, oder?
Hab gelesen, dass AMD das gleiche macht wie Nvidia bei Ampere, also dass 15360 neue ALUs äquivalent zu 7680 alten ALUs sind weil sich die Funktionalität der ALUs verändert hat. Das wäre dann also kein so großer Sprung mehr wie du ihn dir erhoffst.
 
gartenriese schrieb:
Hab gelesen, dass AMD das gleiche macht wie Nvidia bei Ampere, also dass 15360 neue ALUs äquivalent zu 7680 alten ALUs sind weil sich die Funktionalität der ALUs verändert hat. Das wäre dann also kein so großer Sprung mehr wie du ihn dir erhoffst.
Wird sich zeigen, ich denke nicht das es so kommt. Besonders nicht wenn die Chip Fläche der GPU Chiplets stimmt wie die Gerüchte sagen. 5nm bei der Gesamtfläche der beiden Chiplets, da kommt das schon hin mit den 15000.
 
@Novasun Da die GPU definitiv als eine Einheit von der Software und vom Treiber erkannt wird, wird es auch wie eine einzige GPU mit sehr vielen Shadern behandelt werden müssen. Die einzige Herausforderung besteht in der Auslastung derselben, mit der Nvidia ja bei der aktuellen Generation auch schon nicht hinterher kam. Bin sehr gespannt, ob AMD da noch etwas aus dem Hut zaubert. Die komplette Verschmelzung zweier CUs in eine WGP soll angeblich helfen. Was @konkretor postete ist auch sehr interessant, aber eben von Intel und dauert daher eventuell noch, bis es auf dem Markt ist.

TenDance schrieb:
Dieselbe Karte mit GPUs mal in 5nm, mal in 6nm, wird ein monströser abtörn. Noch mehr silicon lottery. Sobald man herausfinden kann was verbaut ist, würde das Rückgaberecht eskalativ ausgenutzt...
So wird das nicht kommen. Es ergibt nur Sinn, wenn die Compute-Chiplets in N5 und der Bridge-Die in N6 gefertigt werden. Der Cache wahrscheinlich auch in N6, wobei der laut Patent ja auch auf der Bridge liegen soll.
 
  • Gefällt mir
Reaktionen: Kassandra_89 und ETI1120
pipip schrieb:
Hier frage ich mich dann, aber wieso nicht einen kleineren Chip und da auch wieder ein Multichip Lösung. Dann hätte man mit zwei chips das komplette Line Up abgedeckt.

Das ganze Limeup soll ja mit den 6x50 vermutlich ja erst zusammen kommen...
Eventuell deswegen die eine monolithische GPU. Denn 7900 und 7800 wie hier in der Tabelle - da ist viel Platz zur 6950...
AMD wird King wenn sie es dann noch schaffen die GPUS fürs Mining untauglich zu machen... Sollen ne eigene Linie für Miner bringen - wo Energieeffizienz noch höher ist... Das Geschäft dürfen sie gerne mit nehmen...
Ergänzung ()

4to cka3al schrieb:
Doch hier ich. Ich bin ganz bei dir. Könnte mir vorstellen, dass auch Software seitig von den Games viel nachträglich umgesetzt werden muss.

Das ist das einzige was wir definitiv ausschließen können. AMD hat das MultiGPU Setting aus gutem Grund eine Eben tiefer gestellt. Das eben alles im Treiber erledigt ist und man eben nicht wie früher spezielle Unterstützung der Games braucht. Ich gehe davon aus auch nicht spezielle Treiber je Game..
Für die Games und OS ist das eine GPU und fertig. Interessant wird sein wie AMD das eben unterhalb der Treiberebne dann wirklich angeht.
Wie jemand schrieb - das ganze intern wie ein großer GPU Block mit 15k Shadern.. Ja kann sein... Damit dürfte es auch keine Mikroruckler geben.
Bezüglich Shadern auslasten - Na ja der Invinity Cache mit 512 MB ! dürfte da sehr hilfreich werden...
Ergänzung ()

Colindo schrieb:
@Novasun Da die GPU definitiv als eine Einheit von der Software und vom Treiber erkannt wird, wird es auch wie eine einzige GPU mit sehr vielen Shadern behandelt werden müssen. Die einzige Herausforderung besteht in der Auslastung derselben, mit der Nvidia ja bei der aktuellen Generation auch schon nicht hinterher kam. Bin sehr gespannt, ob AMD da noch etwas aus dem Hut zaubert. Die komplette Verschmelzung zweier CUs in eine WGP soll angeblich helfen.

Wieso muss. Nein muss nicht. Es würde nur ne gewisse Logik eventuell gebraucht - eben unter der Treiber Ebene.. Unterhalb der Treiberebne sind die neuen GPUS erst mal ne Blackbox - die sich auf/überhalb der Treiberebne wie ne monolithische GPU verhalten.
Erst wenn AMD die Teile im Detail vorgestellt hat werden wir mehr wissen.
Denn wie intern die Arbeit aufgeteilt etc. wird wissen wir im Moment nicht.
Dein Ansatz - das Teil auch intern wie ein riesiger monolithische GPU mit 15k Shadern zu nutzen hätte aber einen großen Vorteil. Es wäre "einfach" - die eventuell daraus resultierenden Probleme wären bekannt - und somit Lösungen vorhanden...
Mikroruckler dürfte es so nicht geben..
Problematisch sehe ich nur was macht so ne riesige GPU wenn die Renderanforderungen Pille Palle sind... Aber vermutlich wird man dann im Zweifel halt einen Chiplet schlafen schicken...
Oder aber jeder Chiplet rechnet jeweils eine Pille Palle Anforderungen gleichzeitig durch...
Ich sehe schon CS Go mit >1000 FPS :D
:daumen::headshot:
 
Zuletzt bearbeitet:
pipip schrieb:
Hier frage ich mich dann, aber wieso nicht einen kleineren Chip und da auch wieder ein Multichip Lösung. Dann hätte man mit zwei chips das komplette Line Up abgedeckt.
Ich schätze mal die Anforderungen an den Interconnect sind viel höher. Es wird viel mehr Bandbreite benötigt. So ein simpler 2D Aufbau wie bei den CPUs wird nicht funktionieren.
Als Anhaltspunkt kann man sich mal MI200 anschauen. Mit vielen kleinen Dies würde das ganze viel komplexer und es wurde wahrscheinlich viel Energie und Die-Fläche für den Datentransfers draufgehen.
 

bensen

1644142587229.png

Ich habe die Tabelle letztens gekonnt ignoriert/übersehen ^^ Dachte Anfangs RX 7900 und RX 7800 bestehen aus einem Chip im MCM Design, während RX 7700 und RX 7600 jeweils ein Chip wären.
Ich meinte eher, dass man die RX 7700 und RX 7600 auch durch ein Chip in MCM Design abdecken könnte.
Dann würde man insgesamt nur 2 Chips (und noch den Infinty Cache ) benötigen. Die Mittelklasse bis RX 7700 wäre dann in 6nm. High-End in 5nm. So mein Gedanke.
Jetzt wo ich aber RX 7700 als MCM durch Navi 32 sehe, bin ich echt gespannt, wie das Line Up dann wirklich ist und wie sich das im Vergleich dann zur aktuellen Serie einordnet.
Was auch auffällig ist, dass Navi 33 allein ja so viele Shader hat wie Navi 21 aktuell... nur mit halben Si dafür doppelten Infintiy Cache. Hoffentlich erreicht man dann ca RX 6800 Performance und zeitgleich erbärmliches Mining :D
 
Knut Grimsrud schrieb:
Was ich meinte, ist, dass zuerst in den Infinity Cache geschaut wird. Wer bekommt die Rückmeldung? Ist das "outgesoured" an eine Einheit im MCD oder bekommt der jeweilige ALD, WGP oder GCD Rückmeldung? Dann würde ich aber im ungünstigeren Fall mit einer zusätzlichen Latenz rechnen, und zwar

GCD1 fragt MCD -> MCD fragt Infinity Cache. Antwort: nicht enthalten -> MCD teilt dies GCD1 mit -> GCD1 fragt in seinem VRAM ab: nicht enthalten -> GCD1 bittet MCD GCD2 zu fragen in dessen VRAM zu schauen -> MCD fragt GCD2 -> GCD2 fragt VRAM -> GCD2 teilt MCD Ergebnis mit -> MCD teilt GCD1 Ergebnis mit

Hallo zusammen!

Entschuldigt bitte!
Kann bitte mal jemand diese für mich „chinesischen“ Abkürzungen übersetzen?

Was ich bisher nur finden konnte, ist:
MCD = Multi-Cache-Die ???????????
WGP = Work-Group-Processors ???????????
GCD = Graphic-Card-Design ???????????
und
ALD = ????????????????????

Mit GCD scheint hier wohl etwas anderes gemeint zu sein. Denn ich frage mich dann, was hat das Design einer Grafikkarte mit einer Rückmeldung innerhalb der Grafikkarte zu tun?

Herzlichen Dank!

Entschuldigt bitte, für mich sind diese ganzen Abkürzungen meistens ein Buch mit 7 Siegeln!


Gruß Andi
 
Knut Grimsrud schrieb:
Was ich meinte, ist, dass zuerst in den Infinity Cache geschaut wird. Wer bekommt die Rückmeldung? Ist das "outgesoured" an eine Einheit im MCD oder bekommt der jeweilige ALD, WGP oder GCD Rückmeldung? Dann würde ich aber im ungünstigeren Fall mit einer zusätzlichen Latenz rechnen, und zwar

GCD1 fragt MCD -> MCD fragt Infinity Cache. Antwort: nicht enthalten -> MCD teilt dies GCD1 mit -> GCD1 fragt in seinem VRAM ab: nicht enthalten -> GCD1 bittet MCD GCD2 zu fragen in dessen VRAM zu schauen -> MCD fragt GCD2 -> GCD2 fragt VRAM -> GCD2 teilt MCD Ergebnis mit -> MCD teilt GCD1 Ergebnis mit
Nachdem ja die Frage aufkam, was das alles heisst wollte ich der armen Seele weiterhelfen.

Habe aber glaube die Antwort auf deine Frage gefunden.
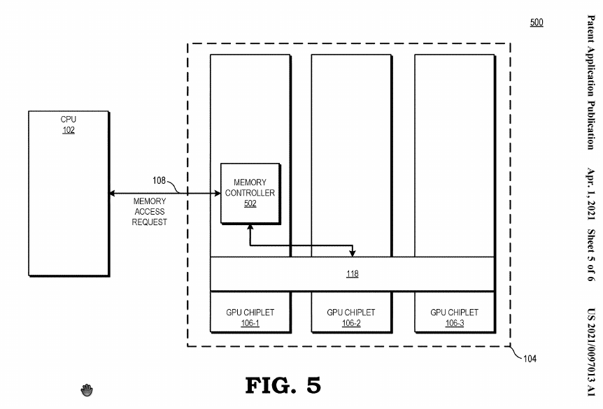
Siehe neustes Patent von AMD https://www.freepatentsonline.com/20200409859.pdf
Fig 6. im PDF. Anfrage geht an ein Chiplet - das checkt wohl wo die Daten gehalten werden [auch in Bezug auf fremdes Chiplet] und routet dann den Request direkt dort hin. Das passende Chiplet liefert dann die Datenan den Requester.
 
moRphh schrieb:
Siehe die letzten Veröffenltichungen bei Grafikkarten. UVP + 50% = Regalpreis.
Und das wird sich auch wieder ändern.

Das Problem was ich mit den UVPs habe ist, dass sie sinnvoll sind wenn AMD und Nvidia Referenenzdesigns entwickeln und anbieten.

Wenn AMD und Nvidia keine Referenzdesigns anbieten sind die UVPs fragwürdig. Die Boardhersteller verbauen meist aufwendigere Lösungen als im Referenzdesign. Den UVP für ein virtuelles Produkt interessiert eigentlich niemand.

zeedy schrieb:
Mein Gott was hat AMD da eigentlich vor? Ohne Taktsteigerung und bei selber Shaderleistung wäre es ja mindestens eine doppelt so hohe Performance wie die der 6900XT. Und die Mittelklasse soll 6900XT Leistung erhalten?
AMD und Nvidia treiben sich momentan gemeinsam an. Auch Nvidia schwingt eine ganz große Keule.

Aber wir können sicher sein auch diese Grafikkarten kann man mit schlechter Programmierung ausbremsen.
bensen schrieb:
Genau, für SRAM sind weniger Prozessschritte nötig. Sollten vor allem erheblich weniger Metal layer sein.
Das denke ich.
Dies wird von einigen Berichterstattern gerne übersehen.

bensen schrieb:
TSMC gibt für Logik 1.8 und für SRAM 1.35 an.
Bei N3 ist's 1.7 für Logik und gar nur 1.2 für SRAM.
Das wird oft ignoriert.

Diese schlechtere Skalierung ist aber kritisch, da zum Beispiel bei Zen 2 und Zen 3 der L3-Cache ebenso viel Raum einnimmt wie die Kerne.
bensen schrieb:
Bedenkt man dann wie groß die Caches bei RDNA2 schon waren (bei den kleinen GPUs extrem zurechtgestutzt um Fläche zu sparen) und wie groß die bei der nächsten Generation werden sollen, dann macht es definitiv Sinn die separat zu fertigen.
Im Juni hat AMD erklärt, dass die SRAM-Chiplets dichter sind, weil ein anderer Prozess speziell für SRAM verwendet wird. Es könnte sein dass diese Erklärung stark vereinfacht ist.

Es kann auch sein, dass die Chiplets mit einer Dense-SRAM-IP hergestellt wurden.
Vielleicht konnte AMD dieser Dense-SRAM IPs verwenden, weil es die Anforderungen an Latenz und Bandbreite erfüllt. Es ist möglich, dass es erst nach Zen 3 verfügbar wurde.
bensen schrieb:
Die wollen auch CPUs in N5 fertigen und die Konkurrenz wie Intel, TSMC, Apple und Mediatek wollen auch was abhaben.
Die-Fläche in N5 zu sparen spielt garantiert auch eine Rolle. Bei der Kombination N5-GPU-Chiplet und N6-Cache-Chiplet nehme ich an, dass die niedrigeren Waferpreise für N5 im Vergleich zu N6 die erforderlichen Montagekosten aufwiegen.

Bei der Kapazität bin ich stark ins Grübeln gekommen.

1644145992629.png

5 nm und 7 nm haben beide ähnlich Verläufe. 6 Quartale nach Produktionsbeginn (QnP) haben beide jeweils dieselben Einnahmen. Aber der Unterschied von 6 QnP zu 2 QnP ist bei 5 nm deutlich kleiner als bei 7 nm. Da 5-nm-Wafer erheblich teurer als 7-nm-Wafer verkauft werden, interoretiere ich
  • 6 QnP wurde bei 5 nm weniger Waferfläche als bei 7 nm
  • Es werden im Vollausbau jeweils 4 Module a 35000 Waferstarts je Monat sowohl bei 5 als auch bei 7 nm bereitstehen. Bei 7 nm wird wohl TSMC noch ein paar % oben drauf rausquetschen.
  • Es gibt 2022 für 5 nm jede Menge Kunden
  • Es gibt für 5 nm aber auch einiges an zusätzlichen Wafern. Alleredings haben Nvidia und Qualcomm wohl den Bedarf erheblich erhöht.
Die Zahlen im Diagramm habe ich den Quartalsberichten von TSMC entnommen. Aus Angaben zum Quartals-Umsatz und den Angaben zum Antei der einzelnen Nodes habe ich die Einnahmen je Node. Die Fehlerbalken entsprechen 0,5 %, da die Angaben von TSMC auf ganze Prozent gerundet sind.

Viel wichtiger ist in meinen Augen dass der Infinity Cache die GPU-Chiplets (GCD) koppelt. Dies ist im Patent zur Active Bridge dargestellt. (Computerbase hat berichtet, siehe Post von Colindo)
  • Das GCD1 kann im Infinity Cache (auf dem active bridge chiplet aka MCD) auf Daten zu zugreifen, die über das Memory-Interface vom GCD2 geladen wurden.
  • Dies beschreibt Absatz 0019 im Active Bridge Patent.
  • Das zerstreut auch die Einwände von @Knut Grimsrud.
Als Laie erwarte ich allerdings, dass der Infinity Cache bei den Chiplet-GPUs größer sein muss bei monolithischen GPUs. Ich erwarte, dass Cache Misses auf Daten des anderen GCD teurer sind als im monolithischen Fall.

Taxxor schrieb:
Die Software wird eine ganz normale einzelne GPU erkennen, wie sie auch bei einem Ryzen 5900X/5950X eine einzelne CPU erkennt und nicht 2.
Der Rest passiert in Hardware auf der Karte selbst und im Treiber.
So so hat es AMD in den Patenten dargestellt. Die Latenz über die Bridge ist so klein, dass nach außen beide Chiplets als eine GPU agieren.
Taxxor schrieb:
wo kommen denn in der Tabelle die 192bit bei der 7700 her?
1644147222438.png

Ich denke das meiste basiert auf diesem Tweet und der nachfolgenden Diskussion.
Jetzt kann man darüber streiten, bei welchen Zahlen Greymon55 Informationen weitergibt oder wo er vermutet.

Die Namen der Grafikkarten wurden von anderen hinzugefügt und kreisen seit dem. Die
Annahmen sind:
  • Navi 31 und 32 bestehen aus jeweils 2 GCD (GPU-Chiplets).
  • Diese GCDs können nicht eigenständig verwendet werden.
  • Die GCDs bringen jeweils die Hälfte an allen Resourcen ein, so auch das Speicherinterface.
Ich finde es eine spannende Frage, ob es klappt bei Navi 31 die 3-fache Anzahl an Shadern mit demselben Speicherinterface zu versorgen, wenn man den Infinity Cache lediglich verdoppelt. Dies gilt auch für Navi 32.

Von der Grafikleistung sind sowohl Navi 31 und Navi 32 für 4 K geeignet. Sind da 12 GB wirklich zukunftssicher? Viele AAA-Games lieben es Rechenleistung und Speicher zu verschwenden. (Verschwenden = Verbrauchen/Belegen ohne wirklich einen angemessen Mehrwert zu bieten)

Bitte beachten:
  • Ein RDNA-3-WGP hat 256 Shader, das sind 4 Mal so viel wie eine RDNA-2-CU hatte.
  • Navi 33 ist nach diesen hat nach den Angaben von Angaben Greymon55 weniger Shader als Navi 21. Das heißt 4096 anstatt der im Artikel angegebenen 5120.
  • Mit der Annahme, dass die Shader bei Navi 21 und Navi 33 gleich groß sind, wäre die Die-Fläche von N33 ungefähr in der Mitte der Die-Flächen von Navi 21 und Navi 22.
  • Greymon55 behauptet, dass die Performance von Navi 33 über der von Navi 21 liegen soll. Dazu passen aber seine anderen Angaben nicht
    • halb so breites Speicherinterface mit 128 bit
    • halb so großer Infinity Cache
    • Wie soll ein halb so großer Infinity Cache ein halb so breites Speicherinterface kompensieren? Da müsste AMD gezaubern.
    • Selbst mit dem hohen Takt und vergleichbarer Ausstattung wäre es IMHO schwer die 25 % mehr Shader der Navi 21 zu kompensieren.
  • Der Artikel verwendet eine als Größe für den Infinity Cache (128 ... 256) MByte. 256 MByte passen IMHO zu den Performance-Angaben von Greymon55 passen, verbrauchen aber eine gewaltige Fläche auf dem Die.
pipip schrieb:

bensen

Anhang anzeigen 1182254
Ich habe die Tabelle letztens gekonnt ignoriert/übersehen ^^ Dachte Anfangs RX 7900 und RX 7800 bestehen aus einem Chip im MCM Design, während RX 7700 und RX 7600 jeweils ein Chip wären.
Ich hatte lange ignoriert dass Navi 33 N6 ist und nur 16 WGP hat.
Ich ging von 20 WGP aus und hielt es für möglich dass NAVI 33 in Navi 31 (x3) und Navi 32 (x2) wiederverwendet wird.
  • Wenn man die Patente von AMD anschaut dann sind sind die GPU-Chiplets komplette GPUs.
    • Bei GPU-chiplets werden durch die Active Bridge verkünft.
    • Ein GPU-Chiplet agiert als primäres GPU-Chiplet und kommuniziert mit der CPU.
    • Aber beide Chiplets haben das Speicherinterface
  • Die Patente von AMD zeigen in vielen Darstellungen eine Konfiguration mit 3 GPU-Chiplets.
1644158266899.png

1644158337817.png

Aber auch so stellt sich die Frage, ob die GPU-Chiplets auch eigenständig verwendet werden können. Der kritische Punkt ist meiner Ansicht nach das Speicherinterface. Den Infinity-Cache könnte man auch mit einer halben Brücke bereitstellen.
  • Wenn es auf beide Chiplets verteilt ist, dann sind die genannten Zahlen ein starkes Indiz dass es kein stand alone gibt. Mit höherer Anzahl der Shader wäre die Anbindung eines GPU-Chiplets noch schmaler als bei Navi 33.
  • Wenn es redundant verwendet wird, steht bei der Anwendung eines Chiplets als eigenständige GPU ein breites Interface bereit. Für die Anwendung im MCM wird einiges an teurer Die-Fläche nicht verwendet.
Wenn man die Chipfläche betrachtet, erscheint die Annahme sehr plausibel, dass die Navi 31 und Navi 32 nur im Verbund verwendet werden. Der Schluss aus dieser Annahme ist: AMD verwendet die GPU-Chiplets nur um leistungsstarke GPUs zu bauen und nicht wie bei den CPUs eine Bauskasten zu schaffen.

Wenn ich die enormen Designkosten für N5 berücksichtige, erscheint es mir nicht ausgeschlossen, dass AMD in manchen Fällen Chipfläche nicht nutzt.

pipip schrieb:
Was auch auffällig ist, dass Navi 33 allein ja so viele Shader hat wie Navi 21 aktuell... nur mit halben Si dafür doppelten Infintiy Cache. Hoffentlich erreicht man dann ca RX 6800 Performance und zeitgleich erbärmliches Mining :D
Wie gesagt, Greymon behauptet standhaft, dass die Performance von Navi 33 über der von der RX6900XT liegt.
 
ETI1120 schrieb:
Anhang anzeigen 1182314
Ich denke das meiste basiert auf diesem Tweet und der nachfolgenden Diskussion.
Dort stehen ja auch 12GB bei 192bit, was Sinn macht. In Kombination mit 8-16GB hier in der Tabelle halt eher nicht.
Und auch die abstufung 16-12-8 macht Sinn, denn wenn schon eine 7600XT mit 16GB kommen würde, müsste man Navi31 32GB geben, was Overkill wäre und nur den Preis nach oben treibt.
Ergänzung ()

ETI1120 schrieb:
  • Greymon55 behauptet, dass die Performance von Navi 33 über der von Navi 21 liegen soll. Dazu passen aber seine anderen Angaben nicht
    • halb so breites Speicherinterface mit 128 bit
    • halb so großer Infinity Cache
    • Wie soll ein halb so großer Infinity Cache ein halb so breites Speicherinterface kompensieren? Da müsste AMD gezaubern.
    • Selbst mit dem hohen Takt und vergleichbarer Ausstattung wäre es IMHO schwer die 25 % mehr Shader der Navi 21 zu kompensieren.
Naja, die 3070 hat ja auch die Performance der 2080Ti, obwohl sowohl kleineres Speicherinterface als auch weniger Speicher insgesamt.

Gesetz dem Fall, dass die restlichen Angaben so stimmen sollten, würde man ja nicht solche Taktraten fahren, wenn das Speicherinterface viel früher limitieren würde. Mit den genannten Daten wäre man mit Taktraten von ~2.9GHz sowie einer höheren IPC auf jeden Fall bei der 6900XT.

Die 6900XT liegt in 4K 28% vor der 6800, bzw 9% vor der 6800XT. Von meiner eigenen 6800XT weiß ich, dass alleine 100MHz mehr auf dem Speicher sowie 100MHz mehr auf dem Core schon für ~10% Mehrleistung sorgen können und man damit die fehlenden 8 CUs ausgeglichen hat.

Navi33 würde aber ~600MHz(~26%) mehr Takt besitzen als die 6900XT sowie dann vmtl auch eine höhere IPC und eben schnelleren Speicher.
 
Zuletzt bearbeitet:
ETI1120 schrieb:
Greymon55 behauptet, dass die Performance von Navi 33 über der von Navi 21 liegen soll. Dazu passen aber seine anderen Angaben nicht
Für FHD werden Speicherinterface und Infinity Cache wohl reichen, nicht vergessen, dass das wohl die 7600er Reihe wird, Ziel ist wohl Full HD. Bei WQHD und vor allem 4K wird die wohl deutlich abfallen, aber das soll sie garnicht können. Und die 20% fehlenden CUs wird man wohl über Takt und neue Architektur relativ einfach wieder rausholen.
 
ETI1120 schrieb:
Von der Grafikleistung sind sowohl Navi 31 und Navi 32 für 4 K geeignet. Sind da 12 GB wirklich zukunftssicher?
Aktuell wäre Navi32 für 4K geeignet, und aktuell reichen die 12Gb dafür auch noch aus.
Ich denke die 7700XT wird eher zu einer guten 1440p Karte werden, bevor einem die 12GB zu wenig werden.

Ähnlich wie eine 6900XT in den nächsten 2-3 Jahren auch für 4K zu langsam sein wird und man dann mit 16GB für 1440p eigentlich schon zu viel Speicher und keinen Vorteil gegenüber den 10GB der 3080 hat^^
 
Novasun schrieb:
Erst wenn AMD die Teile im Detail vorgestellt hat werden wir mehr wissen.
Naja, wenn du dir die Patente anschaust, sind die Details schon sehr präzise ausformuliert.
Novasun schrieb:
Problematisch sehe ich nur was macht so ne riesige GPU wenn die Renderanforderungen Pille Palle sind... Aber vermutlich wird man dann im Zweifel halt einen Chiplet schlafen schicken...
Genau das erwähnte ich anfangs. Wie soll man so viele Shader auslasten, ohne das gleiche Problem zu bekommen, unter dem Nvidia zurzeit leidet. Nämlich der schlechten Auslastung bei geringen Auflösungen.
Andi07 schrieb:
Hallo zusammen!

Entschuldigt bitte!
Kann bitte mal jemand diese für mich „chinesischen“ Abkürzungen übersetzen?

Was ich bisher nur finden konnte, ist:
MCD = Multi-Cache-Die ???????????
WGP = Work-Group-Processors ???????????
GCD = Graphic-Card-Design ???????????
und
ALD = ????????????????????

Mit GCD scheint hier wohl etwas anderes gemeint zu sein. Denn ich frage mich dann, was hat das Design einer Grafikkarte mit einer Rückmeldung innerhalb der Grafikkarte zu tun?

Herzlichen Dank!

Entschuldigt bitte, für mich sind diese ganzen Abkürzungen meistens ein Buch mit 7 Siegeln!


Gruß Andi
WGP sind die Work Group Processors, bestehen aus 2 CUs.
GCD ist der Graphics Core Die, also das Chiplet, das Shader beinhaltet. Im Gegensatz zu der Bridge, die nur die GCDs verbindet und den Infinity Cache bereistellt.
MCD ist der Multi-Chip-Die, glaube ich.
ALD habe ich noch nie gehört, außer bei Lithographie als Atomic Layer Deposition?
Novasun schrieb:
Siehe neustes Patent von AMD
Deswegen hatte ich doch die CB-Artikel zu den Patenten verlinkt!
ETI1120 schrieb:
Im Juni hat AMD erklärt, dass die SRAM-Chiplets dichter sind, weil ein anderer Prozess speziell für SRAM verwendet wird. Es könnte sein dass diese Erklärung stark vereinfacht ist.
Sowie ich mich erinnere, bzw. es Volker geschrieben hat, hat AMD auf die notwendige Logik-Verwaltung hingewiesen. Diese sei auf der CPU bereits für 96 MB ausgelegt, weswegen das Cache-Chiplet ohne die Verwaltung doppelt so dicht aufgebaut werden kann.
ETI1120 schrieb:
Viel wichtiger ist in meinen Augen dass der Infinity Cache die GPU-Chiplets (GCD) koppelt.
Das ist auch der besondere Punkt an AMDs Erfindung. Der Infinity Cache wird unglaublich wichtig, sowohl was Bandbreite als auch Größe angeht.
ETI1120 schrieb:
Als Laie erwarte ich allerdings, dass der Infinity Cache bei den Chiplet-GPUs größer sein muss bei monolithischen GPUs. Ich erwarte, dass Cache Misses auf Daten des anderen GCD teurer sind als im monolithischen Fall.
Dann würde er die Nachteile des Chiplet-Ansatzes genauso kompensieren wie der L3 bei Ryzen seit Zen 2.
ETI1120 schrieb:
Diese GCDs können nicht eigenständig verwendet werden.
Das widerspricht den Patenten, wie du ja auch weiter unten ausführst. Ich finde tatsächlich deine Interpretation mit zwei und drei Chiplets für Navi 32 bzw. Navi 31 deutlich sinnvoller. Es würde mich nicht wundern, wenn die Leaker nur die technischen Eckdaten erfahren, nicht aber, wieviele Chiplets eingesetzt werden. Das würde zumindest das ständige Hin und Her der geleakten Daten erfahren.

Mich würde es auch wundern, wenn AMD nicht den Ansatz, der in den Patenten steht, realisiert.
 
Taxxor schrieb:
Navi33 würde aber ~600MHz(~26%) mehr Takt besitzen als die 6900XT sowie dann vmtl auch eine höhere IPC und eben schnelleren Speicher.
Wie sich die IPC verändert ist eine spannende Frage.

Bei RDNA 1 => RDNA 2 waren es vor die höheren Taktfrequenzen die den Leistungssprung brachten.
Und dass AMD deutlich mehr Shader auslasten konnte.

Philste schrieb:
Für FHD werden Speicherinterface und Infinity Cache wohl reichen, nicht vergessen, dass das wohl die 7600er Reihe wird,
Das wäre ungefähr die doppelte Chipfläche für den Nachfolger im Mainstream. Dann war die UVP der 6600XT eine sehr gute Vorbereitung auf die 7600XT.

Ich freue mich schon auf die lebhaften Diskussionen.

Taxxor schrieb:
Aktuell wäre Navi32 für 4K geeignet, und aktuell reichen die 12Gb dafür auch noch aus.
Ich denke die 7700XT wird eher zu einer guten 1440p Karte werden, bevor einem die 12GB zu wenig werden.
Also ganz ehrlich ich kenne es noch so, dass je länger eine Hardware draußen desto mehr wurde aus der Hardware herausgeholt.

Starglider 2 lief auf derselben Hardware wie Starglider, war aber grafisch auf einer ganz anderen Ebene.

Taxxor schrieb:
Ähnlich wie eine 6900XT in den nächsten 2-3 Jahren auch für 4K zu langsam sein wird und man dann mit 16GB für 1440p eigentlich schon zu viel Speicher und keinen Vorteil gegenüber den 10GB der 3080 hat^^
Ich finde die ganze Diskussion um Leistung und Verbrauch von Grafikkarten wird im falschen Kontext geführt.

Die eigentliche Fragen sind:
  • Wird mit den gestiegenen Anforderungen an Rechenleistung und Grafikspeicher auch eine entsprechende bessere Grafik geboten?
  • Wieviel sind die Leute bereit für eine bessere Grafik auszugeben?
 
ETI1120 schrieb:
Also ganz ehrlich ich kenne es noch so, dass je länger eine Hardware draußen desto mehr wurde aus der Hardware herausgeholt.
Ich kenne es seit ca 10 Jahren so, dass eine Karte die zu Release als "Auflösung X" Karte vorgestellt wurde, in eher direkt in Auflösung "X-1" genutzt werden sollte, wenn man sie länger als bis zur nächsten Generation behalten wollte, ohne viele Settings bereits auf Medium runterzudrehen.

Als Beispiel meine beiden vorherigen Karten: Vega56 und 5700XT. Beide wurden als 1440p Karten vorgestellt, aber zum Release der 5700XT war die Vega für 1440p nicht mehr wirklich gut und die 5700XT wiederum ist heute auch mehr eine FHD Karte, während ich mir jetzt die 6800XT für 1440p gekauft habe, da sie als 4K Karte vermarket wurde und ich damit hoffe, die 7000er überspringen zu können, solange ich bei 1440p bleibe.

Und mein Anspruch sind dabei sogar lediglich stabile und gelockte 60FPS, das ist aber mit einer 5700XT heute nicht mehr auf hohen Settings überall möglich und auch die 6800XT liegt hier stellenweise bereits "nur" noch bei 70-90fps, sodass es bis zur 8000er Serie auch in 1440p eng werden könnte, überall die 60 zu halten.
 
Zuletzt bearbeitet:
ETI1120 schrieb:
Und das wird sich auch wieder ändern.

was wird sich ändern? du hast zwar zitiert, aber nicht die aussage.
 
Wenn das stimmt das die stärkste GPU 32GB VRAM hat dann bräuchte ich doch nur das minimum an Arbeitsspeicher reinstecken und könnte ordentlich zocken
 
Sapphire Forum
Zurück
Oben