Radeon RX 7900 so schlecht?!

Wenn der Treiber bei mehreren SPielen so abschmiert ist es ganz of so, das der RAM instabil ist.

GTA ist auch nicht gerade ein neues Spiel... hast du auch schon was anderes versucht zu spielen oder bisher nur gta?
 
  • Gefällt mir
Reaktionen: up.whatever und Nash361
Okay, ich war kurz verwirrt, aber red devil ist das Mauspad, hier handelt es sich um ne Hellhound. Die hat nur zwei 8-pin Stromanschlüsse.

Ist doch nur ein Kabel, das für mich auch irgendwie seltsam aussieht? Zwei Stecker an einem kabel, das zu zwei seiten weggeht?

Edit: Wird wohl eher ne optische Täuschung sein, das ist halt so ein Y-Kabel.

Okay: Ich würde mal ein zweites Kabel nehmen, damit die doch recht hohe Last verteilt wird. Den zweiten Stecker jedes Kabels dann weglassen. Bei Single Rail netzteilen ist das zwar normalerweise kein großes Problem, aber trotzdem läuft da die ganze Leistungsaufnahme über ein kabel, das kann theoretisch zur Abschaltung unter Last führen.
Anschluss-Netzteil.jpg
 
Zuletzt bearbeitet:
  • Gefällt mir
Reaktionen: Alexander2
Nash361 schrieb:
Es fehlt schon mal eine Schraube am Mainboard.
Hoffentlich sind alle Abstandshalter richtig positioniert?!

Würde gerne das gesamte Setup auf nem Bild sehen wollen.
Und es stehen noch immer Fragen im Raum, die bislang unbeantwortet sind.
 
  • Gefällt mir
Reaktionen: Alexander2, Nash361 und djducky
Übrigend wegen der Überschrift, wenn deine Schnappatmung gleich so reagiert, warum hast du dann überhaupt erst eine AMD Radeon Karte gekauft, wenn du denkst das das nur Müll wäre?

Du hast wohl zu viel Blödsinn gelesen.
 
@Skudrinka Die fehlende Schraube sehe ich jetzt auch, ärgerlich.
Das gesamte Setup kann ich nicht auf einem Bild zeigen.
Hier sind einige Bilder:
1733163025286.png

1733163038761.png

1733163055883.png

Welche Fragen kann ich dir noch beantworten?
Ergänzung ()

Alexander2 schrieb:
Wenn der Treiber bei mehreren SPielen so abschmiert ist es ganz of so, das der RAM instabil ist.

GTA ist auch nicht gerade ein neues Spiel... hast du auch schon was anderes versucht zu spielen oder bisher nur gta?
Bisher nur GTA
 

Anhänge

  • 1733163075082.png
    1733163075082.png
    865,4 KB · Aufrufe: 143
  • Gefällt mir
Reaktionen: Alexander2
Die fehlende Schraube ist jetzt nicht schlimm, viel wichtiger wäre, dass trotzdem der Abstandshalter drunter sitzt, was bei den meisten Gehäusen aber ohnehin standardmäßig der Fall ist. Dann kannste die Schraube auch noch reindrehen.

Die verwendeten Schrauben sehen aber auch nicht nach den Standardschrauben für Mainboards aus, eher für PCIe-Karten bzw. die Blenden.

Welches gehäuse ist das eigentlich? Ich sehe keinen Hecklüfter.

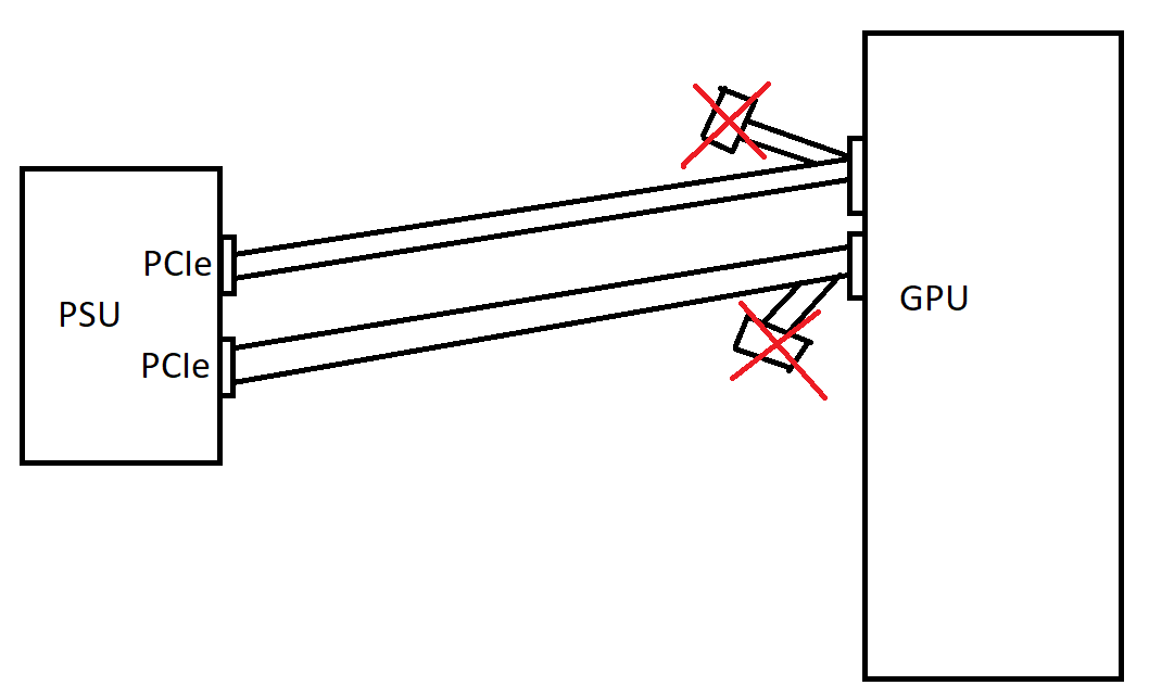
Ich würde es mit einer Verkabelung der Grafikkarte mit zwei Kabeln versuchen. Den jeweils ersten Stecker reinstöpseln, die verlängerten Stecker nicht nutzen. Wie im von mir geposteten Schaubild.

Edit: Also den auf deinem foto rechten Stecker der Grafikkarte drin lassen, das zweite Kabel dann genauso in den linken - und die Netzteilseite dann entsprechend neben dem anderen kabel einstöpseln:
Unbenannt.png
 
Zuletzt bearbeitet:
  • Gefällt mir
Reaktionen: Nash361
vll doch mal die GPU abstützen, möglicherweise hängt sie durch das Eigengewicht nicht richtig im PCIe-Slot?
 
  • Gefällt mir
Reaktionen: Alexander2, djducky und Nash361
Um mehr Aussagekraft zu haben wäre es sinnvoll noch andere ähnlich oder sogar mehr vordernde zu testen (wenn nach fixen von Kabel und kleinigkeiten nicht sofort das Problem behoben ist.
 
  • Gefällt mir
Reaktionen: Nash361
sNo0k schrieb:
vll doch mal die GPU abstützen, möglicherweise hängt sie durch das Eigengewicht nicht richtig im PCIe-Slot?
Das Problem hatte ich auch mal.
Tatsächlich kann das zum Problem führen.
Bei mir war es allerdings so, dass mir irgendwann zufällig aufgefallen ist, dass sie nur noch mit X4 lief.
Mit Stütze (3D gedruckt :daumen: ) war das Problem beseitigt.
 
  • Gefällt mir
Reaktionen: Nash361, Alexander2 und djducky
Skudrinka schrieb:
Mit Stütze (3D gedruckt :daumen: )
Bei meiner Red Devil ist auch so eine Stütze wie beim TE dabei. Da die aber dauernd verrutscht ist, hat bei mir ein Kabelbinder die Grafikkarte am HDD-Käfig fixiert :P Man muss sich eben zu helfen wissen!
 
  • Gefällt mir
Reaktionen: Jagdwurst, Nash361, djducky und eine weitere Person
Nochmal: Kabel so:
GPU-Cables.png


Grund: Einzelne PCie-Kabel sind bis ~288W spezifiziert, deine Karte kann mehr ziehen.
 
  • Gefällt mir
Reaktionen: Nash361 und sNo0k
Soweit ich das erkennen kann: Ja! :)

Nun musst du es testen, vielleicht hilft das schon. Und wenn nicht dann hast du es zumindest versucht bzw. entlastest auch die einzelnen Kabel und Stecker am Netzteil.
 
  • Gefällt mir
Reaktionen: Alioth
@djducky Vielen Dank! :)
Ich glaube mit diesen Einstellungen kann ich viel rausholen, oder?
Kennt sich hier einer aus?
1733168305213.png
 
Ich würde das erstmal lassen und unter alten bedingungen testen.

Was wirklich etwas bringt ist undervolting, aber vorher wollen wir ja sicherstellen, dass auch unter Normalbedingungen alles läuft, wie es soll. Bei Fehlersuche verändert man immer nur eine Sache und schaut dann, ob es was gebracht hat.
 
  • Gefällt mir
Reaktionen: Alexander2
Guten abend. Ich habe die gleiche Karte und auch die Probleme gehabt.

Treiber Timeout : liegt am RAM. Richtiges Profil auswählen oder auf Auto stellen


SPUHLENFIEBEN: bekommt man mit der FPS Begrenzung hin.
 
  • Gefällt mir
Reaktionen: Nash361, conf_t und Gamer_One
Ich würde die Karte umtauschen, falls online gekauft einfach zurückschicken. Meine Saphire 7900XTX Nitro hat kaum Spulenfipen und läuft seit 6 Monaten ohne Probleme, auch bei neuen Games wie Stalker 2 und Call of Duty Black Ops 6.
 
Ich hatte genau das selbe Problem und niemand konnte mir helfen. Der Hinweis von ben1981 ist interessant, würde mich interesssieren, ob es das echt fixed.
ich hätte sie aber so oder so retourniert, weil das Spulenfiepen so unterträglich war.
 
Jede Grafikkarte Pfeift wenn sie 1000 fps oder noch mehr produzieren muss.
 
  • Gefällt mir
Reaktionen: Marco199, konkretor, phipsi und eine weitere Person
benn1981 schrieb:
Guten abend. Ich habe die gleiche Karte und auch die Probleme gehabt.

Treiber Timeout : liegt am RAM. Richtiges Profil auswählen oder auf Auto stellen


SPUHLENFIEBEN: bekommt man mit der FPS Begrenzung hin.
@benn1981 Was genau meinst du richtiges Profil auswählen oder auf Auto stellen?
 
Sapphire Forum
Zurück
Oben